LEMON Manuals: Even more car manuals for everyone: 1960-2025
Home >> Nissan-Datsun >> 2004 >> Sentra SE-R Spec V >> Repair and Diagnosis >> External Pages >> Different car >> Section 1584 (Power Steering System) >> Steering Column >> Disassembly and Assembly >> Inspection After Assembly
April 5, 2026: LEMON Manuals is launched! Read the announcement.

Inspection After Assembly

WARNING: This page is about a different car, the 2005 Nissan Frontier. However, it is still accessible from the selected car via links, so may be relevant.

When the steering wheel does not turn smoothly, check as follows:

  1. Check the steering column for the following:
    • Damage to the column tube or bearings
    • Wear around the seal edges
    • Corrosion or pitting around the seal sliding area

    Replace the steering column as an assembly, if necessary.

    CAUTION:
    • Do not exert any axial load or impact to the steering column.
    • Replace the column if it is depleted of grease, worn, damaged, or if any scratches or coating separation is present on the shaft seal area.
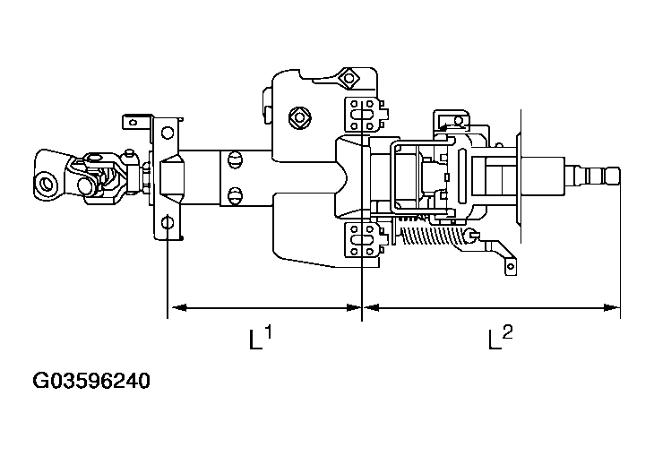
  2. If the vehicle has been in a collision, or if noises are heard coming from the steering column, check column length "L1" and "L2" as shown. If out of specification, replace the steering column as an assembly.

    Steering column length 

    L1: 165.1 mm (6.500 in) 

    L2: 258.0 mm (10.16 in) 

    Fig 1: Checking Column Length
    G03596240Courtesy of NISSAN MOTOR CO., U.S.A.
  3. Check the tilt device for proper operation range.

    Range "A": 73.8 mm (2.906 in) 

    Fig 2: Checking Tilt Device For Proper Operation Range
    G03596241Courtesy of NISSAN MOTOR CO., U.S.A.