Test F: Initial Set Control Function Operates, But Headlight Aiming Does Not Operate (Warning Light Goes Off)
WARNING: This page is about a different car, the 2002 Lexus ES 300. However, it is still accessible from the selected car via links, so may be relevant.
- Check initialize. Start the engine. Check that the initial set control function of both headlights operate. If the condition is: door lock to door unlock, go to the next step. If the condition is: IG switch ACC to OFF, go to step 3.
- Inspect the headlight beam level control actuator resistance. See Fig 1. Check that there is continuity between terminals No. 2 and 5. See CONNECTOR IDENTIFICATION . Check that resistance exists between terminals, see INSPECTING HEADLIGHT BEAM LEVEL CONTROL ACTUATOR RESISTANCE table. If the resistance is OK, go to step 4. If the resistance is not good, replace the headlight beam level control actuator.
- Check the signal waveform. Using an oscilloscope, check the signal waveform between the right headlight leveling ECU terminals No. 16 (RH1), 15 (RH2), 4 (RH3), 13 (RH4) and body ground. Using an oscilloscope, check the signal waveform between left headlight leveling ECU terminals No. 3 (LH1), 2 (LH2), 5 (LH3), 14 (LH4) and body ground. Check the signal waveform 2. See Fig 2. See HEADLIGHT LEVELING ECU SIGNAL WAVEFORM 2 table. If the results are OK, go to step 6. If the results are not good, go to the next step.HEADLIGHT LEVELING ECU SIGNAL WAVEFORM 2
Item Specification Tool Setting 5 V/DIV, 10 ms/DIV Condition Headlight Lights Up & Engine Stops When Keeping & Bouncing The Vehicle - Measure the voltage between terminals No. 10 (HDLP) and 12 (E1) of the headlight leveling ECU. If the voltage is OK (below 1.5 volts), go to step 7. If the voltage is not good, go to the next step.
- Check the continuity between terminal No. 10 (HDLP) of the headlight leveling ECU and the multiplex network body computer. If there is continuity, replace the driver side junction block assembly. If there is not continuity, repair or replace the harness or connector.
- Inspect the damaged headlight unit. Inspect the headlight beam level control actuator resistance. Check that there is continuity between terminals No. 2 and 5. See CONNECTOR IDENTIFICATION . Check that resistance exists between terminals, see INSPECTING HEADLIGHT BEAM LEVEL CONTROL ACTUATOR RESISTANCE table. If the results are OK, replace the damaged headlight unit. See HEADLIGHT ASSEMBLY under REMOVAL & INSTALLATION. If the results are not good, repair or replace the harness or connector.
- Measure the voltage between terminals No. 23 (SHR) and 19 (SGR) of the headlight leveling ECU. If the results are OK, check and replace the headlight leveling ECU assembly. See HEADLIGHT ASSEMBLY under REMOVAL & INSTALLATION. If the results are not good, go to the next step.
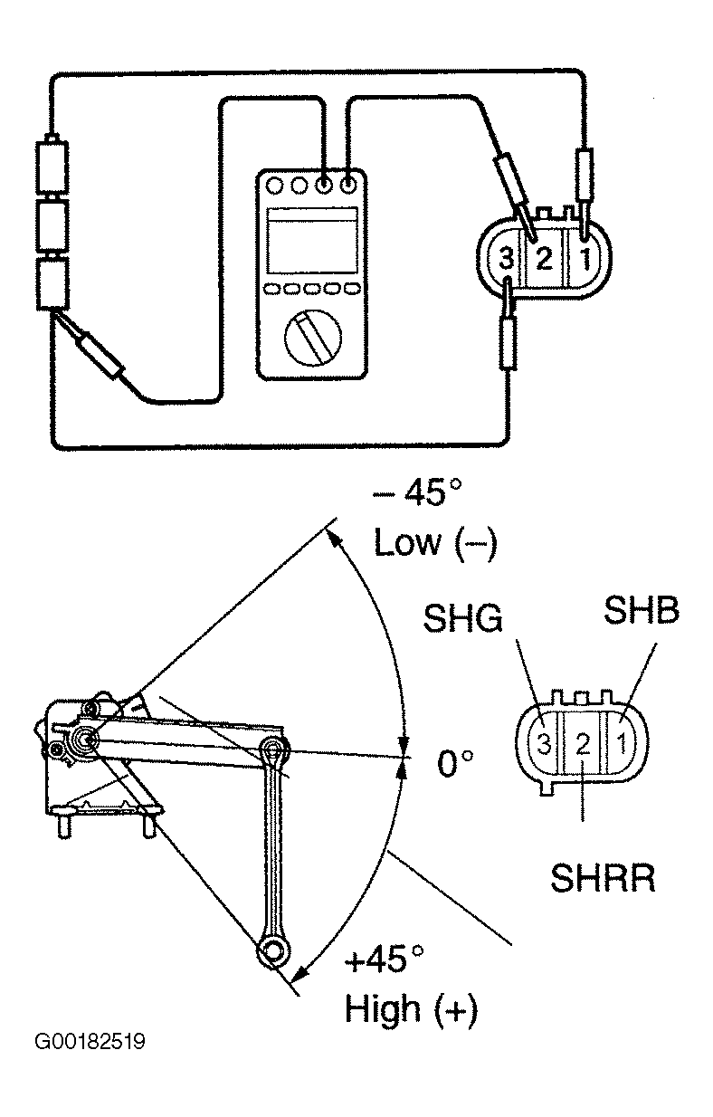
- Inspect the right rear height control sensor sub-assembly. Connect the 3 batteries (1.5 volts) in series. Connect the battery positive terminal to terminal SHB and the negative one to the terminal SHG to apply voltage of 4.5 volts between terminals SHB and SHG. See Figure. While slowly moving he link up and down with the voltage being applied, check the voltage between the terminals SHRR and SHG. See INSPECTING RH REAR HEIGHT CONTROL SENSOR TERMINALS SHRR & SHG VOLTAGE table. If the voltage is OK, go to the next step. If the voltage is not good, replace the right rear height control sensor sub-assembly. See HEIGHT CONTROL SENSOR under REMOVAL & INSTALLATION.
- Check the headlight leveling ECU assembly. Disconnect the connector of the headlight leveling ECU assembly. Check the continuity between terminals No. 6 (SSI) and 7 (SS2) of the vehicle side connector of the headlight leveling ECU assembly. See CONNECTOR IDENTIFICATION . If there is continuity, check and replace the headlight leveling ECU assembly. See HEADLIGHT ASSEMBLY under REMOVAL & INSTALLATION. If there is not continuity, replace the sensor.