LEMON Manuals: Even more car manuals for everyone: 1960-2025
Home >> Nissan-Datsun >> 2004 >> Sentra SE-R >> Repair and Diagnosis >> External Pages >> Different car >> Section 2139 (Engine Cooling System) >> System Description >> Cooling System >> Schematic
April 5, 2026: LEMON Manuals is launched! Read the announcement.

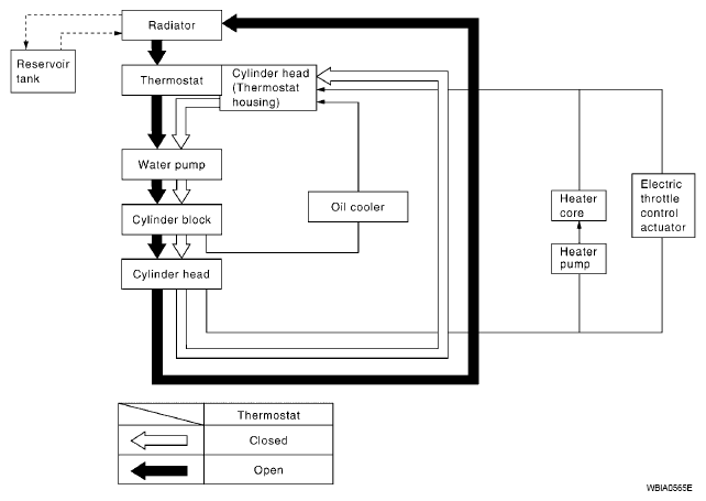
Cooling System: Schematic

WARNING: This page is about a different car, the 2011 Nissan Xterra. However, it is still accessible from the selected car via links, so may be relevant.
Fig 1: Cooling System Schematic
G07152243