LEMON Manuals: Even more car manuals for everyone: 1960-2025
Home >> Nissan-Datsun >> 2011 >> Cube Base >> Repair and Diagnosis >> Brakes >> Traction Control >> Brake Control System >> Removal And Installation >> Steering Angle Sensor >> Exploded View
April 5, 2026: LEMON Manuals is launched! Read the announcement.

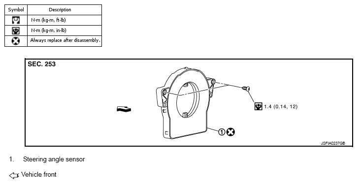
Exploded View

Fig 1: Exploded View Of Steering Angle Sensor With Torque Specifications
G07107557Courtesy of NISSAN MOTOR CO., U.S.A.

Refer to "COMPONENTS " for the symbols in the figure.