LEMON Manuals: Even more car manuals for everyone: 1960-2025
Home >> Nissan-Datsun >> 2011 >> Sentra SE-R >> Repair and Diagnosis >> Brakes >> Traction Control >> Brake Control System >> VDC/TCS/Abs >> Service Information >> System Description >> System Component
April 5, 2026: LEMON Manuals is launched! Read the announcement.

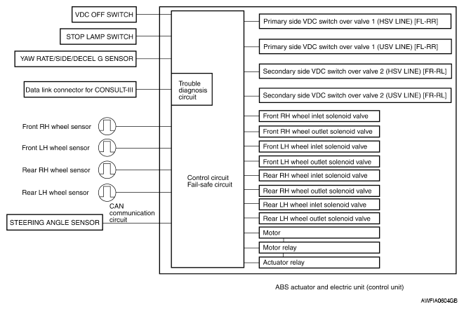
System Component

Fig 1: VDC/TCS/ABS System Diagram
G06546804Courtesy of NISSAN MOTOR CO., U.S.A.