LEMON Manuals: Even more car manuals for everyone: 1960-2025
Home >> Nissan-Datsun >> 2012 >> NV3500 HD SL >> Repair and Diagnosis >> Body & Frame >> Windows >> Power Window Control System >> System Description >> System >> System Diagram >> Front Window System
April 5, 2026: LEMON Manuals is launched! Read the announcement.

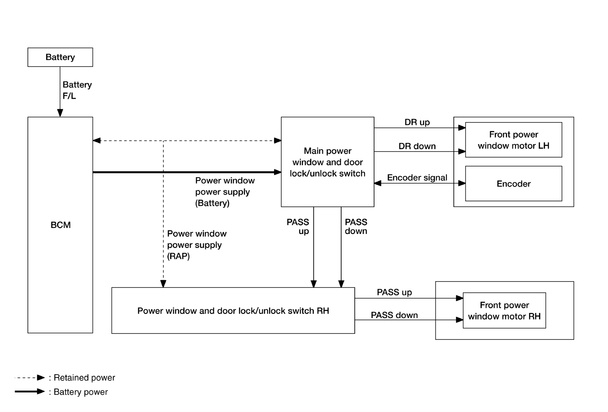
Front Window System

Fig 1: Front Window - System Diagram
G08160484Courtesy of NISSAN NORTH AMERICA, INC.