LEMON Manuals: Even more car manuals for everyone: 1960-2025
Home >> Nissan-Datsun >> 2013 >> Versa S Plus >> Repair and Diagnosis >> Engine Performance >> System >> Engine Control System (Introduction) >> System Description >> System >> Cooling Fan Control >> COOLING FAN CONTROL: System Diagram
April 5, 2026: LEMON Manuals is launched! Read the announcement.

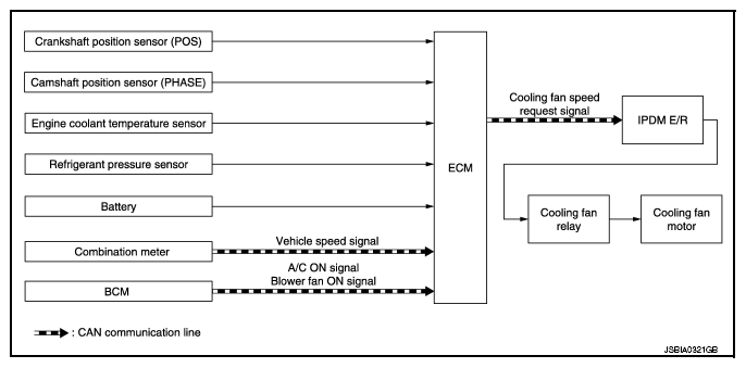
COOLING FAN CONTROL: System Diagram

Fig 1: Cooling Fan Control System Diagram
G09054203Courtesy of NISSAN NORTH AMERICA, INC.