LEMON Manuals: Even more car manuals for everyone: 1960-2025
Home >> Nissan-Datsun >> 2016 >> Sentra SL >> Repair and Diagnosis >> Engine Performance >> System >> Engine Control System (Basic Inspection) >> Basic Inspection >> Fuel Pressure >> Work Procedure >> Fuel Pressure Check
April 5, 2026: LEMON Manuals is launched! Read the announcement.

Fuel Pressure Check

CAUTION:
  • Before disconnecting fuel line, release fuel pressure from fuel line to eliminate danger. 
  • The fuel hose connection method used when taking fuel pressure check must not be used for other purposes. 
  • Be careful not to scratch or put debris around connection area when servicing, so that the quick connector maintains sealability with O-rings inside.
  • Do not perform fuel pressure check with electrical systems operating (i.e. lights, rear defogger, A/C, etc.) Fuel pressure gauge may indicate false readings due to varying engine load and changes in manifold vacuum. 
NOTE:

Prepare pans or saucers under the disconnected fuel line because the fuel may spill out. The fuel pressure cannot be completely released because this models do not have fuel return system. 

  1. FUEL PRESSURE CHECK

    1. Release fuel pressure to zero.
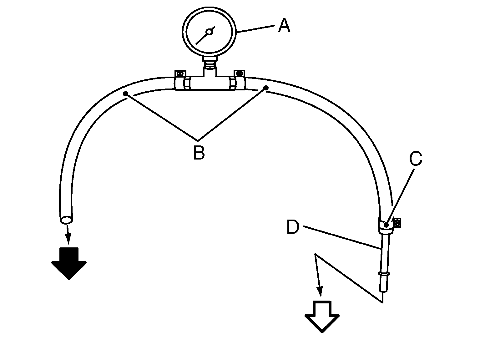
    2. Prepare fuel hose for fuel pressure check (B) and fuel tube adapter [SST: KV1011840] (D), then connect fuel pressure gauge (A).
      Fig 1: Connecting Fuel Pressure Gauge To Fuel Hose
      G04811964ARROWARROWFCourtesy of NISSAN NORTH AMERICA, INC.
      ARROW : To quick connector
      ARROWF : To fuel tube
      C : Clamp
      CAUTION:
      • Use suitable fuel hose for fuel pressure check (genuine NISSAN fuel hose without quick connector).
      • To avoid unnecessary force or tension to hose, use moderately long fuel hose for fuel pressure check.
      • Do not use the fuel hose for checking fuel pressure with damage or cracks on it.
      • Use Pressure Gauge to check fuel pressure.
    3. Remove fuel hose.
      CAUTION:

      Do not twist or kink fuel hose because it is plastic hose.

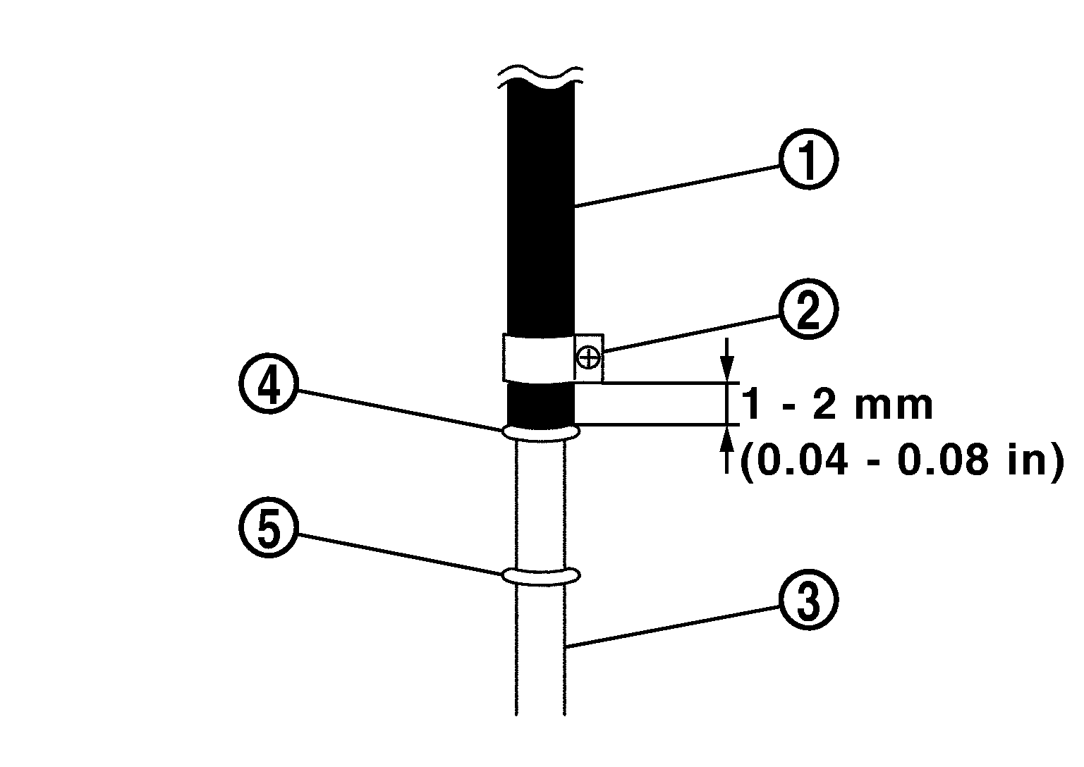
    4. Connect fuel hose for fuel pressure check WHITE-1 to fuel tube WHITE-3 with clamp WHITE-2 as shown in the figure.
      Fig 2: Connecting Fuel Hose To Fuel Tube With Clamp
      G04811965Courtesy of NISSAN NORTH AMERICA, INC.
      5: No. 2 spool
      CAUTION:
      • Wipe off oil or dirt from hose insertion part using cloth moistened with gasoline.
      • Apply proper amount of gasoline between top of the fuel tube and No. 1 spool WHITE-4 .
      • Insert fuel hose for fuel pressure check until it touches the No. 1 spool on fuel tube.
      • Use NISSAN genuine hose clamp (part number: 16439 N4710 or 16439 40U00).
      • When reconnecting fuel line, always use new clamps.
      • Use a torque driver to tighten clamps.
        Tightening torque: 1 - 1.5 N•m (0.1 - 0.15 kg-m, 9 - 13 in-lb)
      • Install hose clamp to the position within 1 - 2 mm (0.04 - 0.08 in).
      • Make sure that clamp screw does not contact adjacent parts.
    5. Connect fuel tube adapter to quick connector.
      Fig 3: Connecting Fuel Tube Adapter To Quick Connector
      GNSALBIA0981ZZ-981Courtesy of NISSAN NORTH AMERICA, INC.
      A :Fuel pressure gauge
      B :Fuel hose for fuel pressure check

      After connecting fuel hose for fuel pressure check, pull the hose with a force of approximately 98 N (10 kg, 22 lb) to confirm high pressure fuel pump does not come off.

    6. Turn ignition switch ON and check for fuel leakage.
    7. Start engine and check for fuel leakage.
    8. Read the indication of fuel pressure gauge.
      CAUTION:
      • Do not perform fuel pressure check with system operating. Fuel pressure gauge may indicate false readings.
      • During fuel pressure check, confirm for fuel leakage from fuel connection every 3 minutes.
      At idling : Approximately 350 kPa (3.5 bar, 3.57 kg/cm2 , 51 psi)

    Is the inspection result normal?

    YES 

    INSPECTION END

    NO 

    GO TO STEP 2. 

  2. CHECK FUEL HOSES

    Check the following.

    • Fuel hoses for clogging
    • Fuel filter for clogging
    • Fuel pump
    • Fuel pressure regulator for clogging

    Is the inspection result normal?

    YES 

    Replace fuel pressure regulator.

    NO 

    Repair or replace error-detected parts.