LEMON Manuals: Even more car manuals for everyone: 1960-2025
Home >> Nissan-Datsun >> 2016 >> Versa Note S Plus >> Repair and Diagnosis >> Accessories & Equipment >> Anti-Theft Systems >> Security Control System (With Intelligent Key System) >> System Description >> System >> NISSAN Anti-Theft System >> System Description >> System Diagram
April 5, 2026: LEMON Manuals is launched! Read the announcement.

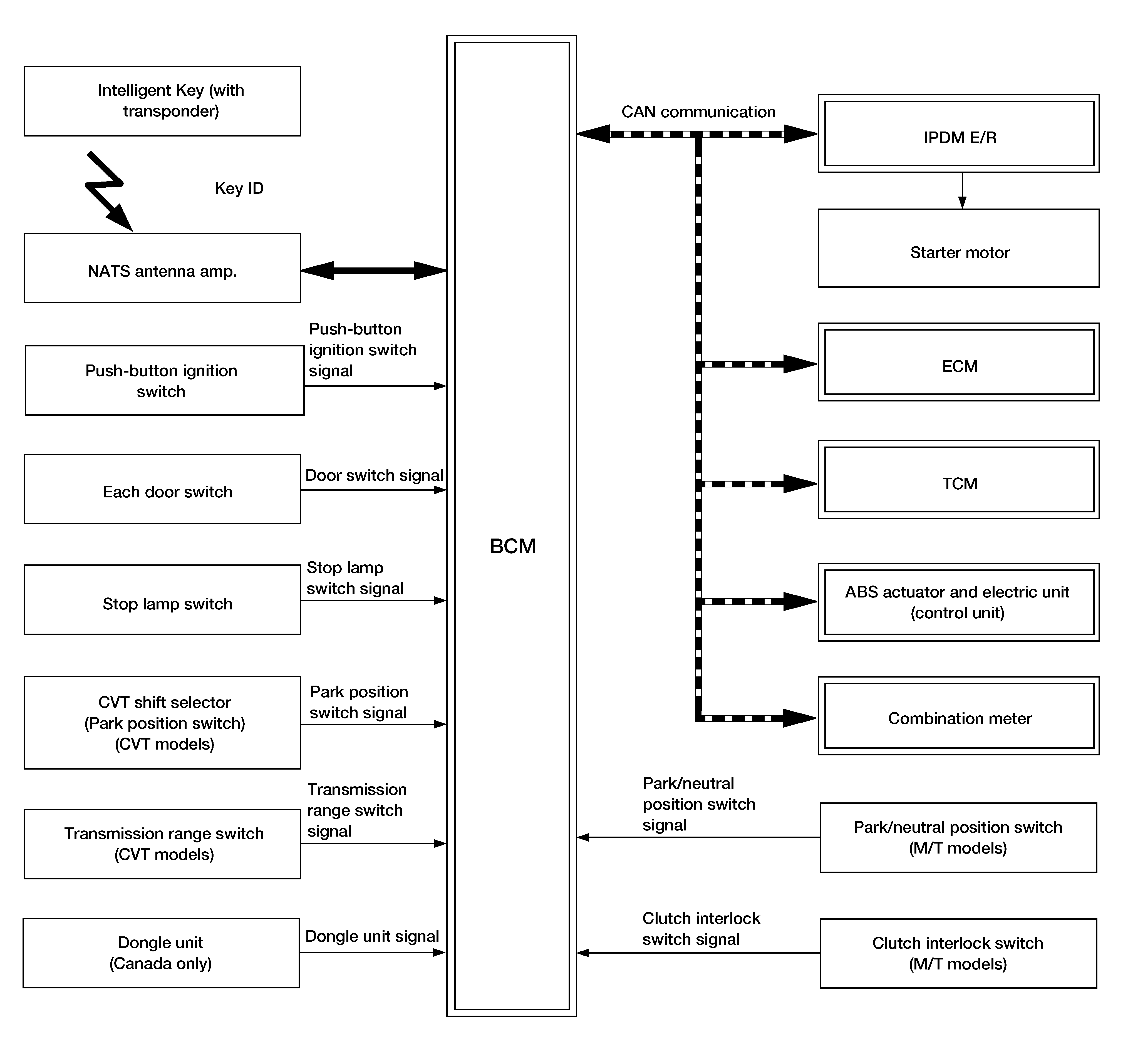
System Diagram

Fig 1: Nissan Anti-Theft System Diagram
GNSALKIA3647GB-647Courtesy of NISSAN NORTH AMERICA, INC.