LEMON Manuals: Even more car manuals for everyone: 1960-2025
Home >> Nissan-Datsun >> 2016 >> Versa Note SR >> Repair and Diagnosis >> External Pages >> Different car >> Section 82 (Security Control System (With Intelligent Key System)) >> System Description >> System >> NISSAN Anti-Theft System >> System Description >> System Diagram
April 5, 2026: LEMON Manuals is launched! Read the announcement.

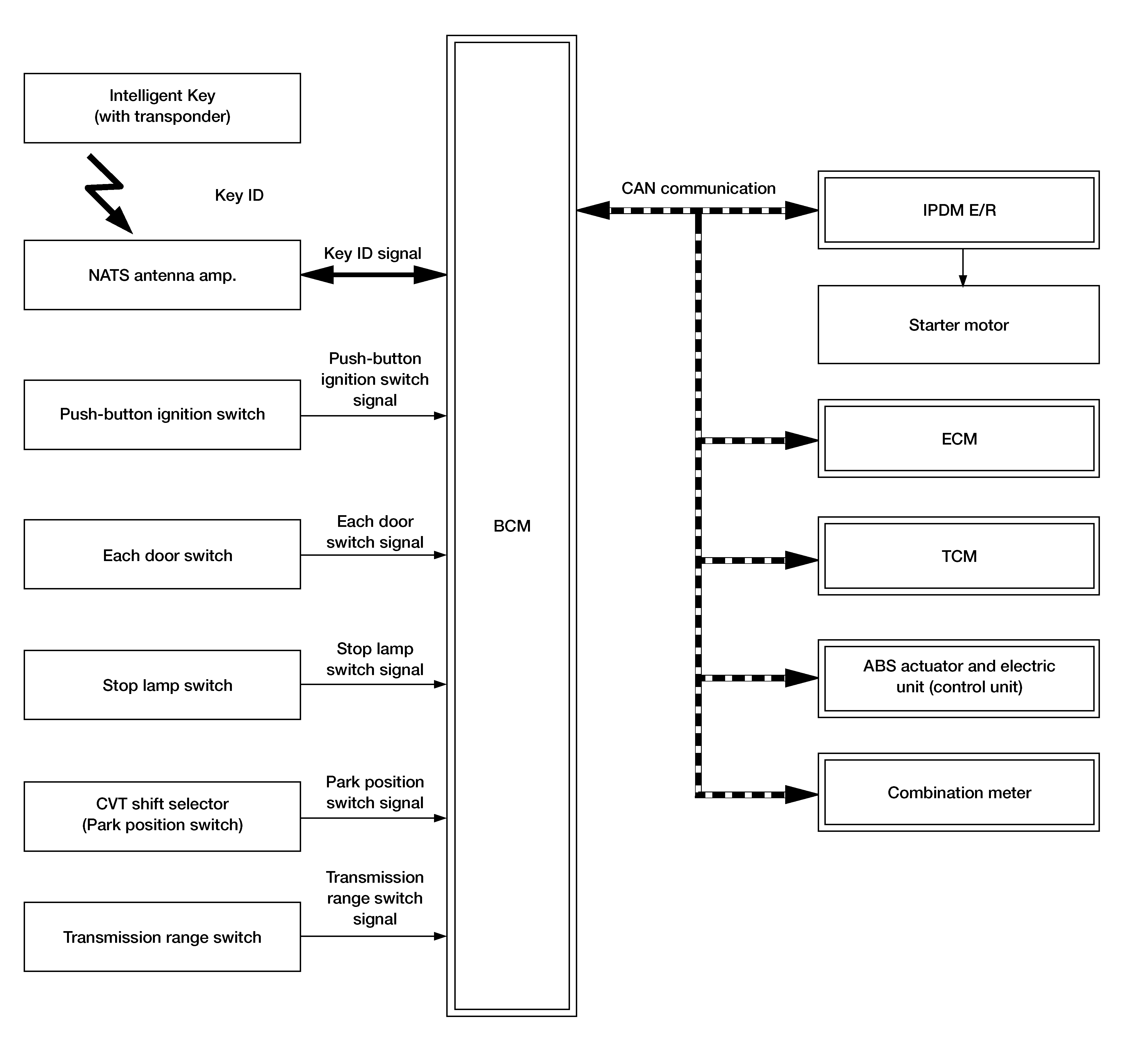
System Diagram

WARNING: This page is about a different car, the 2016 Nissan Versa. However, it is still accessible from the selected car via links, so may be relevant.
Fig 1: Nissan Anti-Theft System Diagram
GNSAWKIA3380GB-380Courtesy of NISSAN NORTH AMERICA, INC.