LEMON Manuals: Even more car manuals for everyone: 1960-2025
Home >> Nissan-Datsun >> 2017 >> Altima Base >> Repair and Diagnosis >> Engine Performance >> Fuel Delivery >> Fuel System >> Unit Disassembly And Assembly >> Fuel Level Sensor Unit >> Disassembly And Assembly >> Notes
April 5, 2026: LEMON Manuals is launched! Read the announcement.

Disassembly And Assembly: Notes

Fuel Level Sensor Unit 

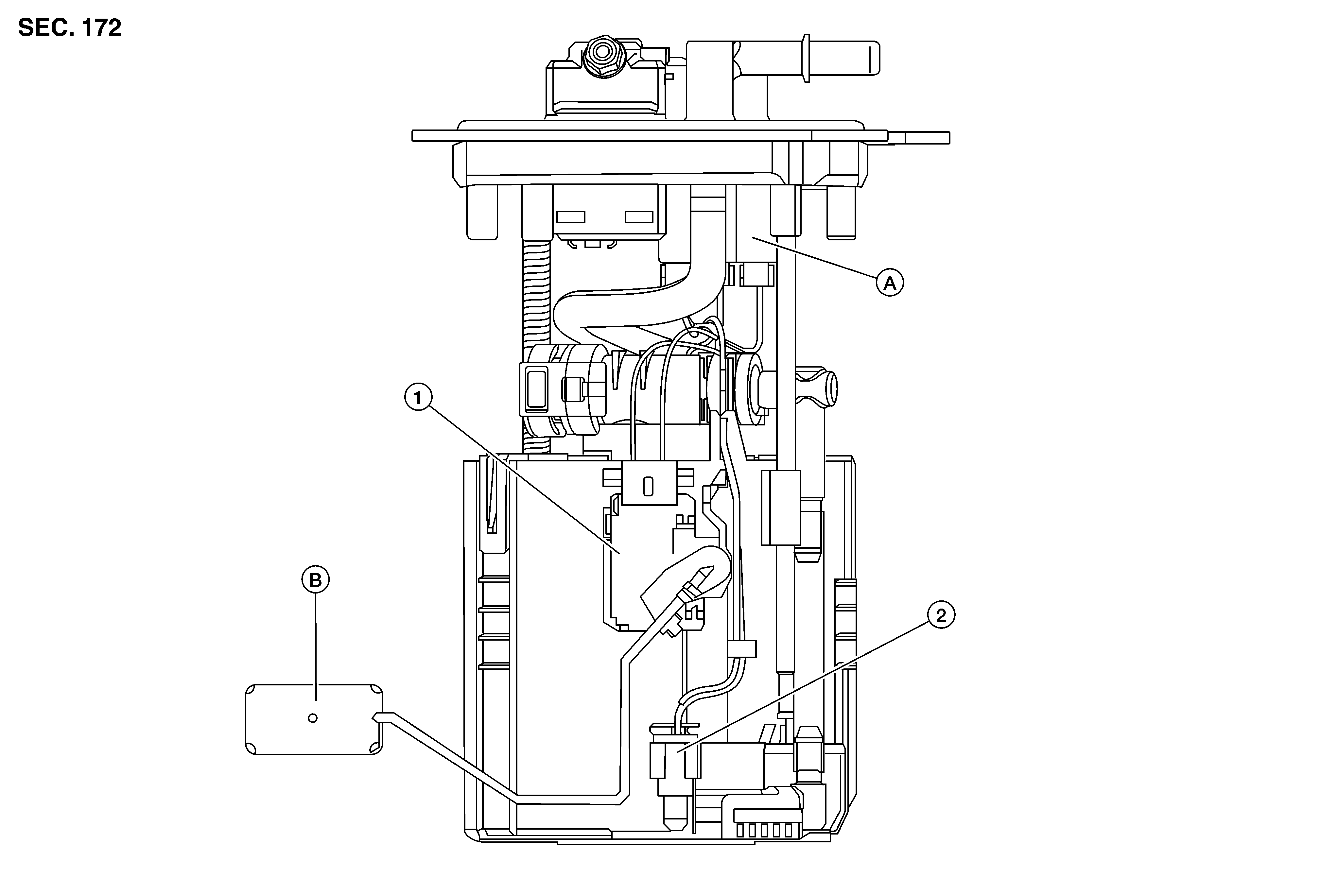
GNSALBIA0926ZZ-926Courtesy of NISSAN NORTH AMERICA, INC.
1. Fuel level sensor unit module 2. Fuel temperature sensor A. Harness connector
B. Float arm assembly