LEMON Manuals: Even more car manuals for everyone: 1960-2025
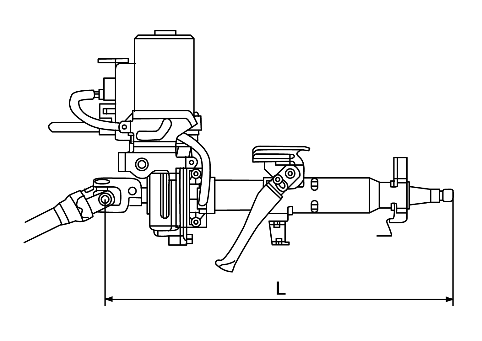
Home >> Nissan-Datsun >> 2017 >> Sentra SR >> Repair and Diagnosis >> Steering >> Steering Column >> Steering System >> Basic Inspection >> Steering Column >> Inspection >> Steering Column Assembly
April 5, 2026: LEMON Manuals is launched! Read the announcement.

Steering Column Assembly