LEMON Manuals: Even more car manuals for everyone: 1960-2025
Home >> Nissan-Datsun >> 2018 >> Maxima SL >> Repair and Diagnosis >> Engine Performance >> Fuel Delivery >> Fuel System >> Disassembly And Assembly >> Fuel Level Sensor Unit >> Exploded View
April 5, 2026: LEMON Manuals is launched! Read the announcement.

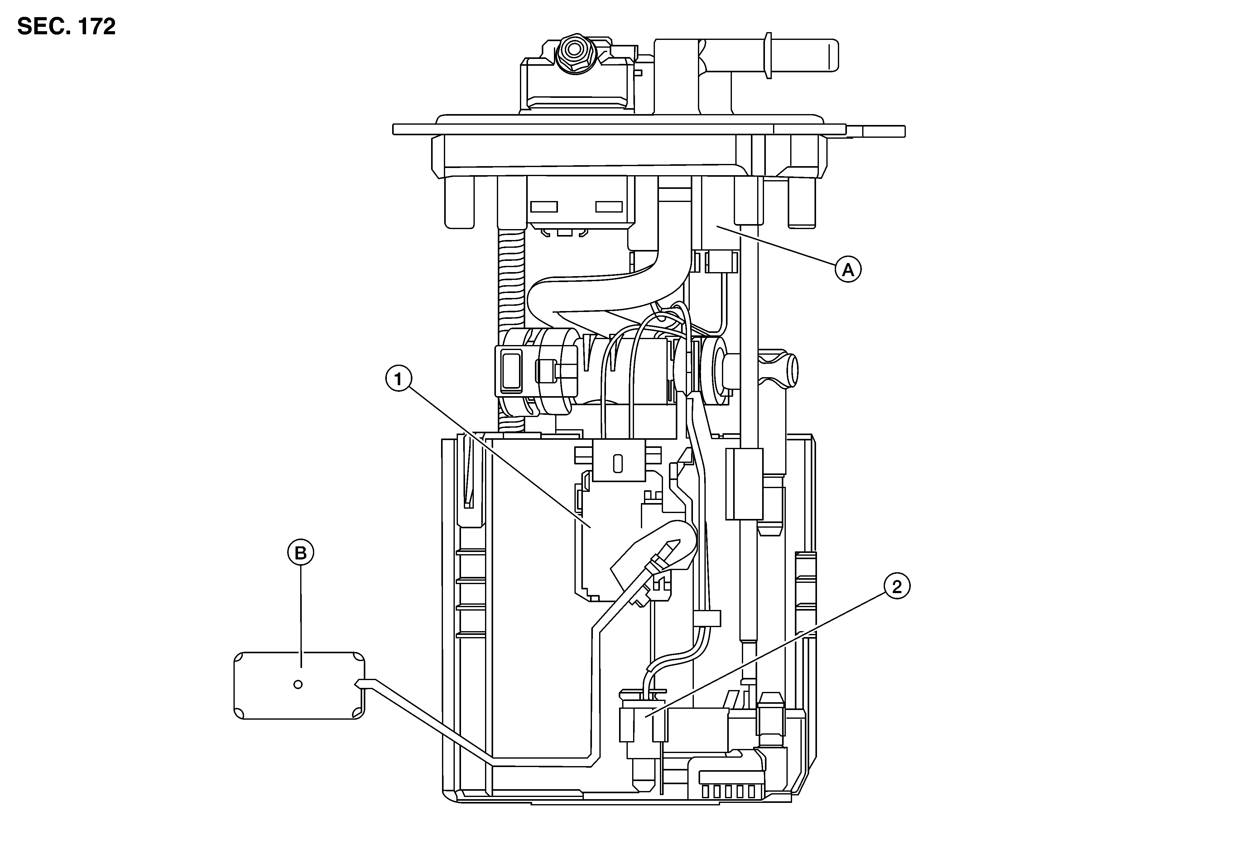
Exploded View

GNSDB118706Courtesy of NISSAN NORTH AMERICA, INC.

1.

Level sensor unit module

2.

Fuel temperature sensor

A.

Harness connector

B.

Float arm assembly