LEMON Manuals: Even more car manuals for everyone: 1960-2025
Home >> Nissan-Datsun >> 2021 >> NV2500 HD S >> Repair and Diagnosis >> Body & Frame >> Windows >> Power Window Control System >> System Description >> System >> System Diagram >> Front Window System
April 5, 2026: LEMON Manuals is launched! Read the announcement.

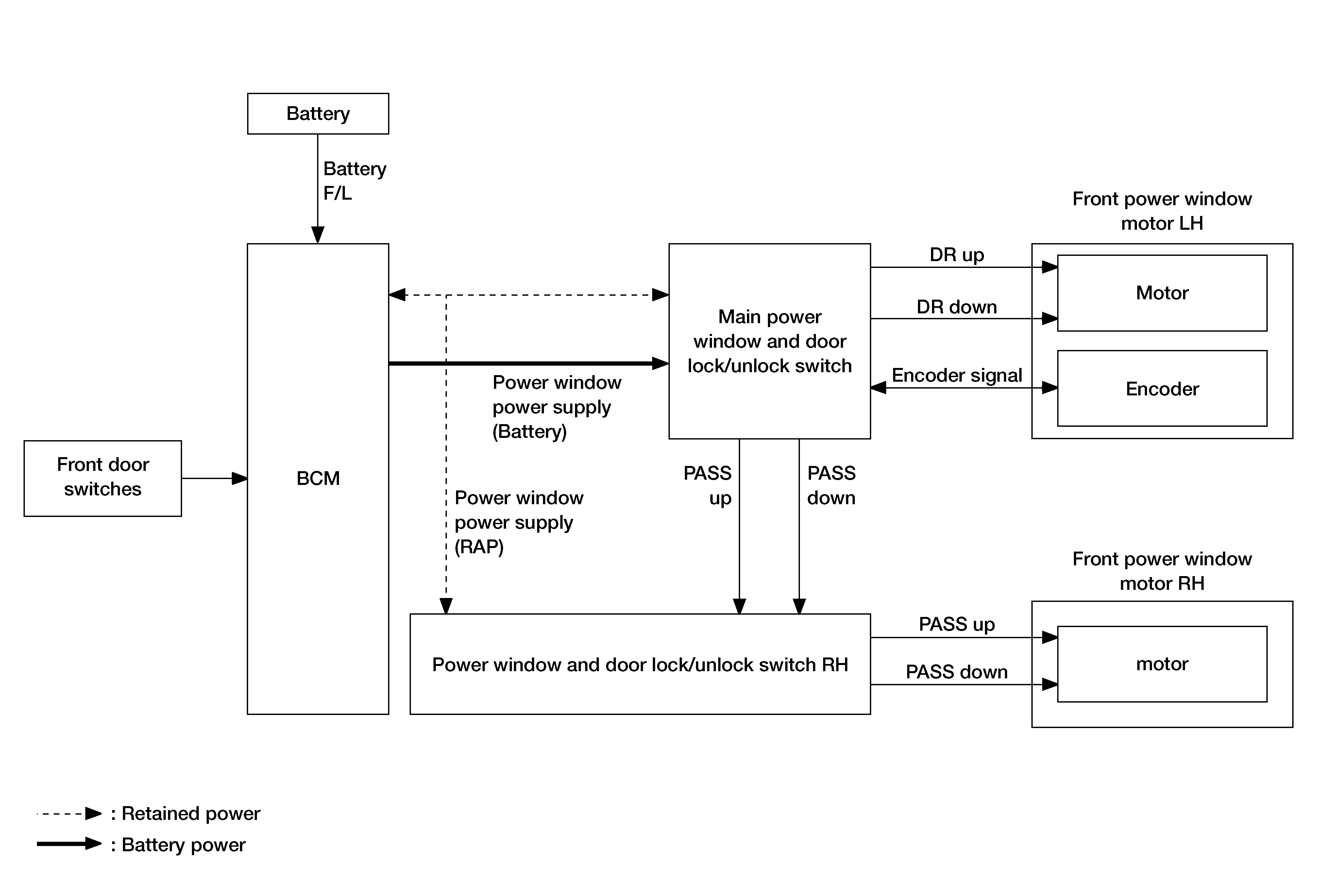
Front Window System

GNSAWKIA0248GB-248Courtesy of NISSAN NORTH AMERICA, INC.

INPUT/OUTPUT SIGNAL CHART

Item

Input signal to main power window and door lock/unlock switch

Main power window and door lock/unlock switch function

Actuator

Encoder

Encoder pulse signal

Power window control

Front power window motor LH

Main power window and door lock/unlock switch

Front power window motor LH UP/DOWN signal

Front power window motor LH/RH

Power window and door lock/unlock switch RH

Front power window motor RH UP/DOWN signal

BCM

RAP signal