LEMON Manuals: Even more car manuals for everyone: 1960-2025
Home >> Nissan-Datsun >> 2021 >> Sentra S >> Repair and Diagnosis >> Body & Frame >> Windows >> Power Window Control System >> System Description >> System >> System Description >> System Diagram
April 5, 2026: LEMON Manuals is launched! Read the announcement.

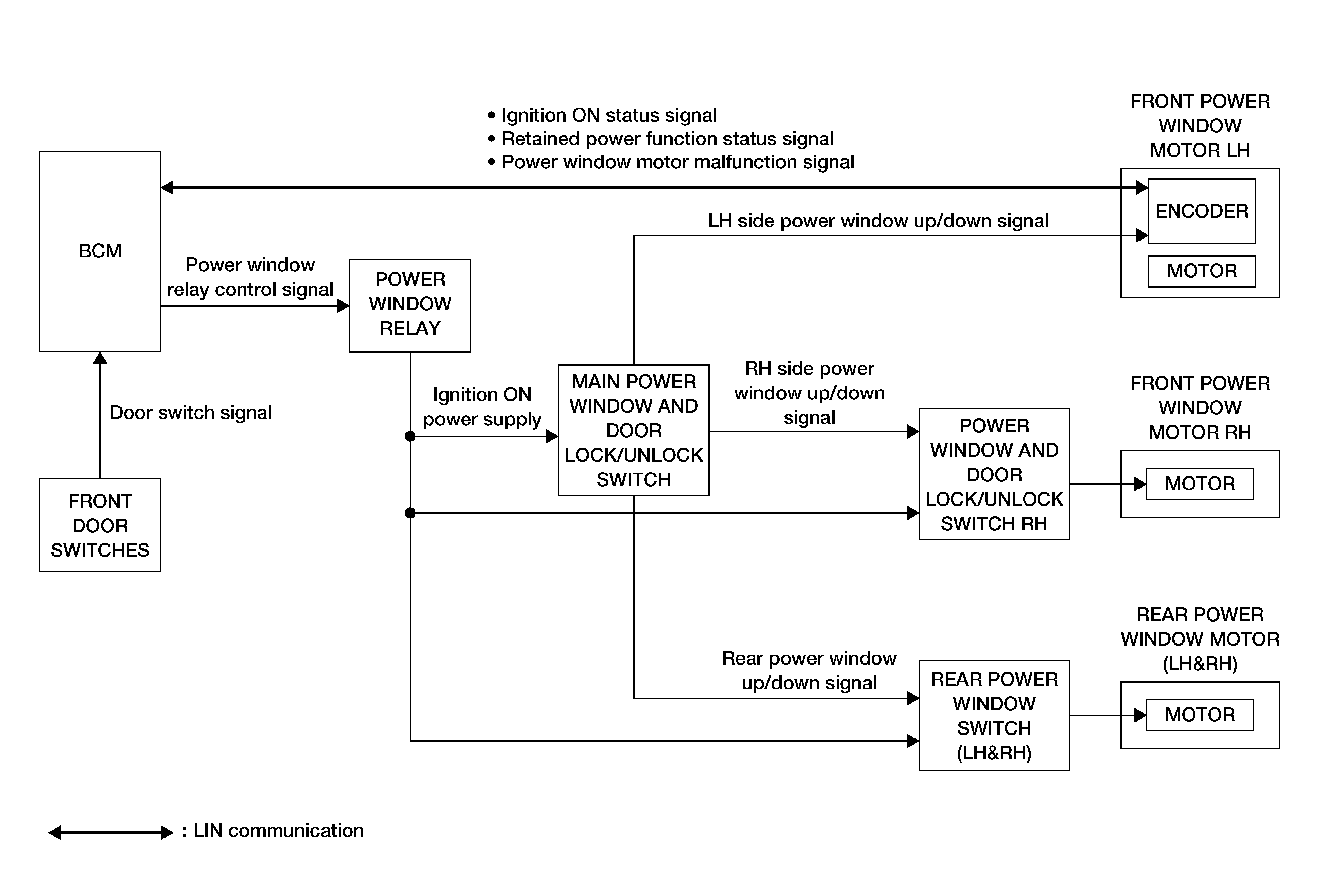
System Diagram

GNSAWKIA0263GB-263Courtesy of NISSAN NORTH AMERICA, INC.

Item

Input signal to main power window and door lock/unlock switch

Main power window and door lock/unlock switch function

Actuator

Encoder

Encoder pulse signal

Power window control

Front power window motor LH

Main power window and door lock/unlock switch

Front power window motor LH UP/DOWN signal

Front power window motor LH/RH

Power window and door lock/unlock switch RH

Front power window motor RH UP/DOWN signal

BCM

RAP signal

Rear power window switch

Rear power window motor UP/DOWN signal

Rear power window motor