LEMON Manuals: Even more car manuals for everyone: 1960-2025
Home >> Nissan-Datsun >> 2021 >> Sentra SV >> Repair and Diagnosis >> Steering >> Power Steering >> Steering System >> Service Data And Specifications (SDS) >> Service Data And Specifications (SDS) >> Steering Column >> Steering Column Length
April 5, 2026: LEMON Manuals is launched! Read the announcement.

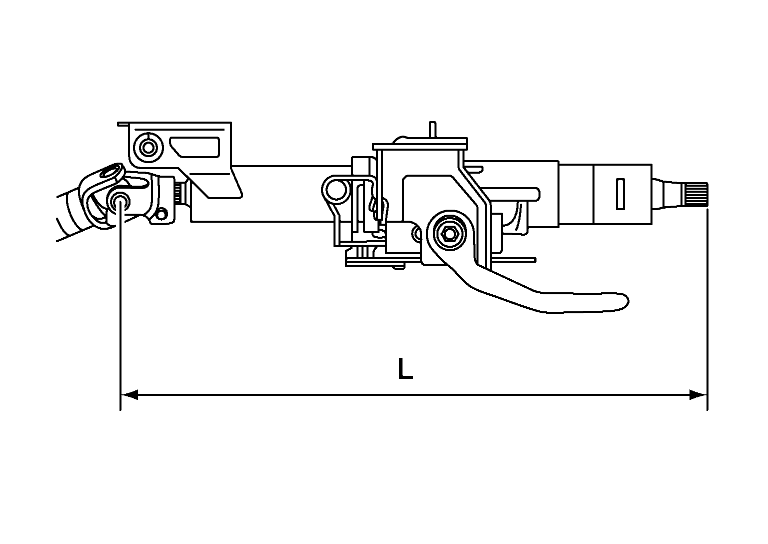
Steering Column Length

Unit: mm (in)

GNSALGIA0182Z-182Courtesy of NISSAN NORTH AMERICA, INC.

Steering column length

Length (L)

573 (22.56)

Telescopic maximum

598 (23.54)

Telescopic minimum

548 (21.57)