LEMON Manuals: Even more car manuals for everyone: 1960-2025
Home >> Nissan-Datsun >> 2022 >> Sentra S >> Repair and Diagnosis >> Engine Performance >> Engine Control Systems >> Engine Control System (2 Of 2) >> Component/Circuit Diagnosis >> Fuel Injector Relay >> Component Inspection
April 5, 2026: LEMON Manuals is launched! Read the announcement.

Component Inspection

  1. CHECK FUEL INJECTOR RELAY 
    1. Turn ignition switch OFF.
    2. Remove fuel injector relays. Refer to Component Location .
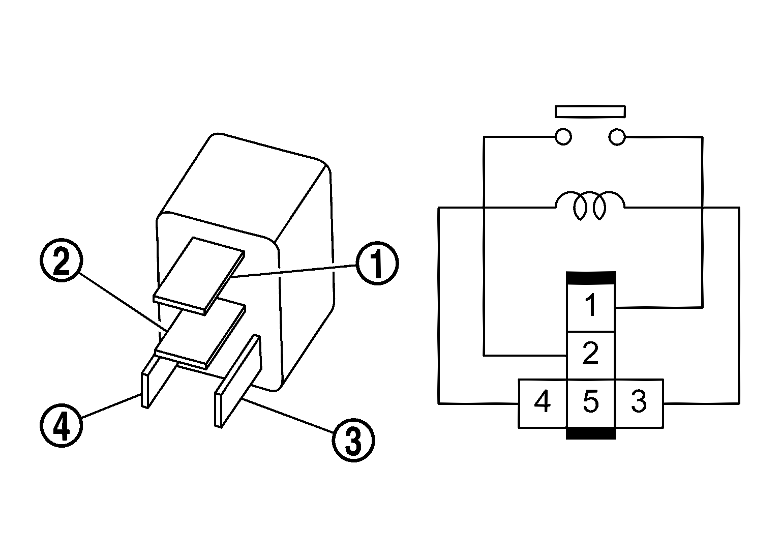
    3. Check the continuity between fuel injector relay terminals as per the following conditions.

      Direct Fuel Injector Relay 1 

      GNSILL0290703Courtesy of NISSAN NORTH AMERICA, INC.

      Direct Fuel Injector Relay 2 

      GNSILL0290704Courtesy of NISSAN NORTH AMERICA, INC.

      Fuel injector relay

      Condition

      Continuity

      +

      -

      Terminal

      1

      2

      12 V direct current supply between terminals 3 and 4

      Existed

      No current supply

      Not existed

      6

      7

      12 V direct current supply between terminals 8 and 9

      Existed

      No current supply

      Not existed

    Is the inspection result normal?

    YES

    INSPECTION END

    NO

    Replace fuel injector relay. Refer to Component Location .