LEMON Manuals: Even more car manuals for everyone: 1960-2025
Home >> Nissan-Datsun >> 2023 >> Sentra S >> Repair and Diagnosis >> Engine Performance >> Engine Control Systems >> Engine Control System (2 Of 2) >> Component/Circuit Diagnosis >> Fuel Injector Relay >> Component Inspection
April 5, 2026: LEMON Manuals is launched! Read the announcement.

Component Inspection

  1. CHECK FUEL INJECTOR RELAY 
      1. Turn ignition switch OFF.
      2. Remove fuel injector relays. Refer to Component Location .
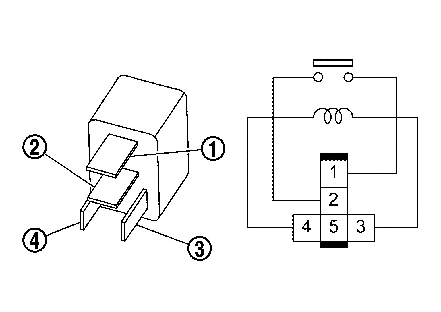
      3. Check the continuity between fuel injector relay terminals as per the following conditions. Direct Fuel Injector Relay 1
        GNSDB47443Courtesy of NISSAN

        Direct Fuel Injector Relay 2

        GNSDB47580Courtesy of NISSAN
        Fuel injector relay Condition Continuity
        + -
        Terminal
        1 2 12 V direct current supply between terminals 3 and 4 Existed
        No current supply Not existed
        6 7 12 V direct current supply between terminals 8 and 9 Existed
        No current supply Not existed

    Is the inspection result normal?

    YES>>

    INSPECTION END

    NO>>

    Replace fuel injector relay. Refer to Component Location .