LEMON Manuals: Even more car manuals for everyone: 1960-2025
Home >> Nissan-Datsun >> 2024 >> Sentra S >> Repair and Diagnosis >> Engine Performance >> Engine Control Systems >> Engine Control System (2 Of 2) >> Component/Circuit Diagnosis >> Fuel Injector Relay >> Component Inspection
April 5, 2026: LEMON Manuals is launched! Read the announcement.

Component Inspection

  1. CHECK FUEL INJECTOR RELAY 
    1. Turn ignition switch OFF.
    2. Remove fuel injector relays. Refer to Component Location .
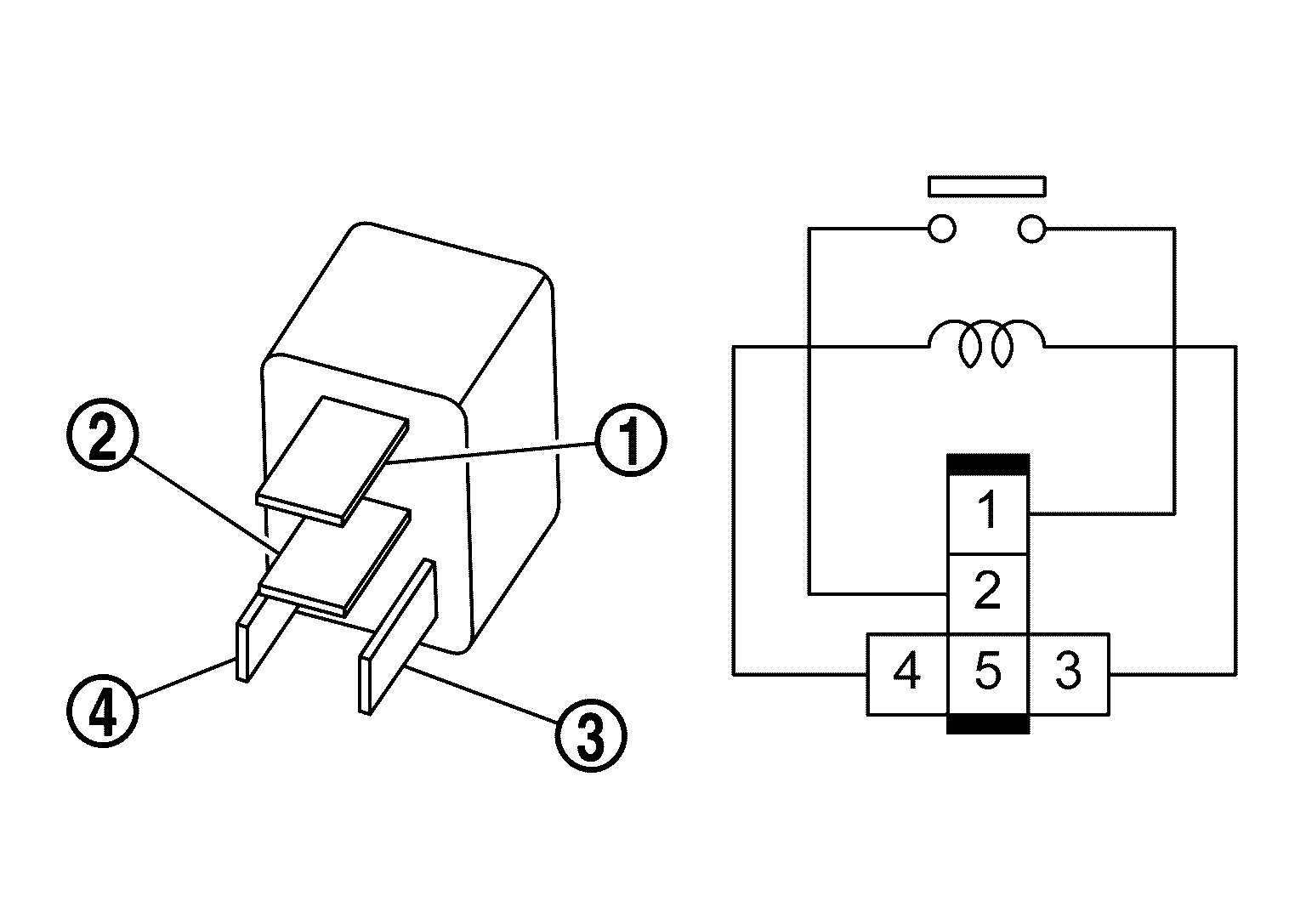
    3. Check the continuity between fuel injector relay terminals as per the following conditions.

      Direct Fuel Injector Relay 1

      GNSDB133740Courtesy of NISSAN NORTH AMERICA, INC.

      Direct Fuel Injector Relay 2

      GNSDB133888Courtesy of NISSAN NORTH AMERICA, INC.
      Fuel injector relay Condition Continuity
      + -
      Terminal
      1 2 12 V direct current supply between terminals 3 and 4 Existed
      No current supply Not existed
      6 7 12 V direct current supply between terminals 8 and 9 Existed
      No current supply Not existed

    Is the inspection result normal?

    >>

    INSPECTION END

    >>

    Replace fuel injector relay. Refer to Component Location .