LEMON Manuals: Even more car manuals for everyone: 1960-2025
Home >> Nissan-Datsun >> 2024 >> Sentra S >> Repair and Diagnosis >> Engine Performance >> Engine Control Systems >> Engine Control System (2 Of 2) >> Removal And Installation >> Electric Intake Valve Timing Control Module >> ELECTRIC INTAKE VALVE TIMING CONTROL MODULE : Exploded View
April 5, 2026: LEMON Manuals is launched! Read the announcement.

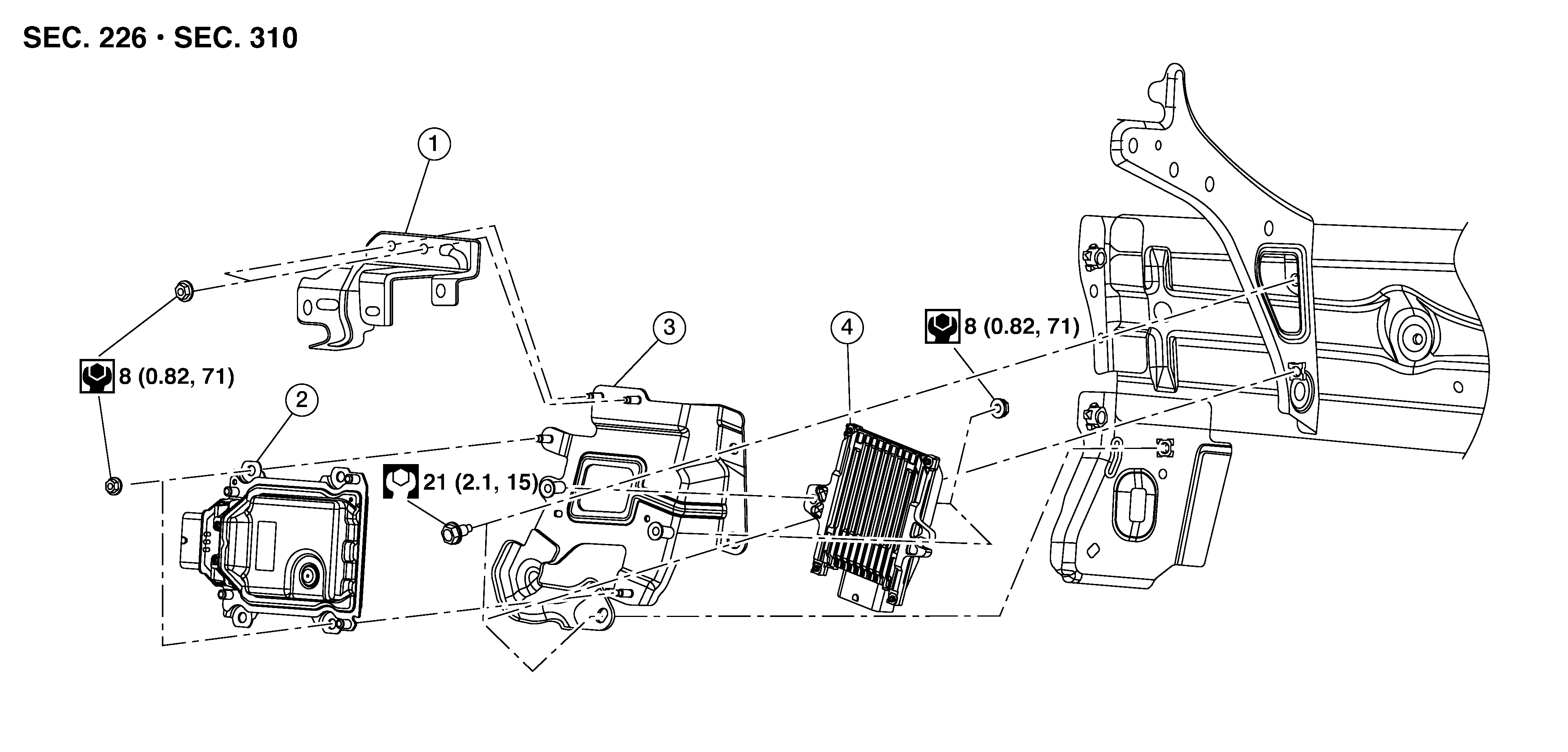
ELECTRIC INTAKE VALVE TIMING CONTROL MODULE : Exploded View

Fig 1: Electric Intake Valve Timing Control Module With Torque Specifications
GNSDB134418Courtesy of NISSAN NORTH AMERICA, INC.
1. TCM upper bracket (if equipped) 2. TCM (if equipped) 3. TCM bracket
4. Electric intake valve timing control module