LEMON Manuals: Even more car manuals for everyone: 1960-2025
Home >> Oldsmobile >> 1990 >> Custom Cruiser >> Repair and Diagnosis >> Engine Performance >> System >> Engine Controls - Tests W/Codes - CARBURETED >> Diagnostic Tests >> Code 13, Open Oxygen Sensor Circuit
April 5, 2026: LEMON Manuals is launched! Read the announcement.

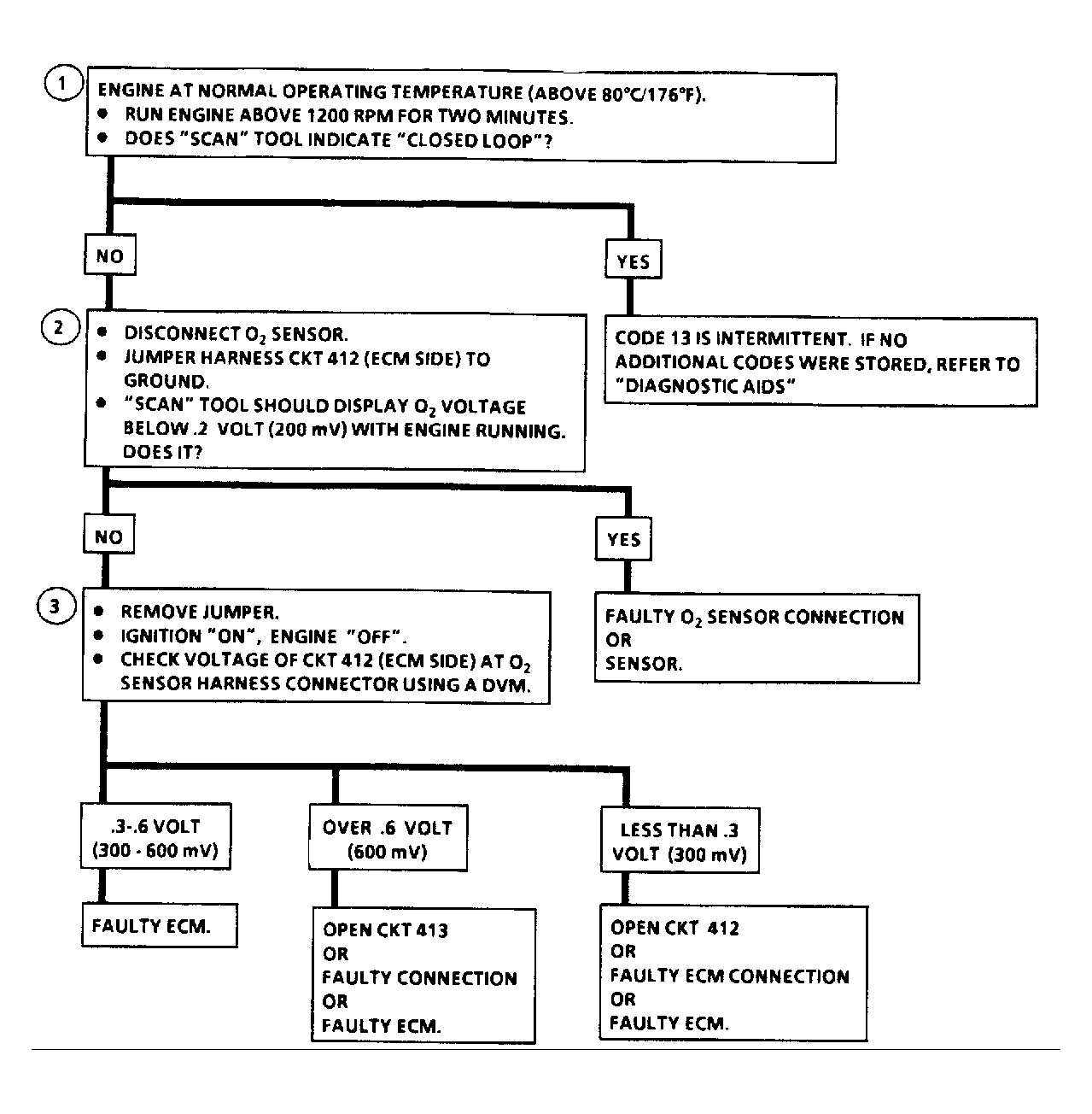
Code 13, Open Oxygen Sensor Circuit

NOTE: Test numbers refer to test numbers on diagnostic chart.
  1. This tests if problem still exists. Code 13 indicates an open in the O2 sensor circuit under the following conditions:
    • Coolant temperature at least 108°F (42°C).
    • Neither Code 21 nor Code 22 are stored.
    • O2 sensor voltage is within a specified range (.34-.55 volt).
    • Throttle angle is greater than 6 percent (off-idle).
    • More than 40 seconds have elapsed since start-up.
    • All conditions have existed for at least 20 seconds.
  2. Determines if O2 sensor, wiring or ECM is at fault.
  3. This tests O2 sensor circuit wiring. Use only a high impedance (10-megohm minimum) digital voltmeter.
Fig 1: Code 13, Open O2 Sensor Ckt Diag
G4660
Fig 2: Code 13, Open O2 Sensor Flow Chart
G110232