Before replacing decoder module, check system for following common problems:
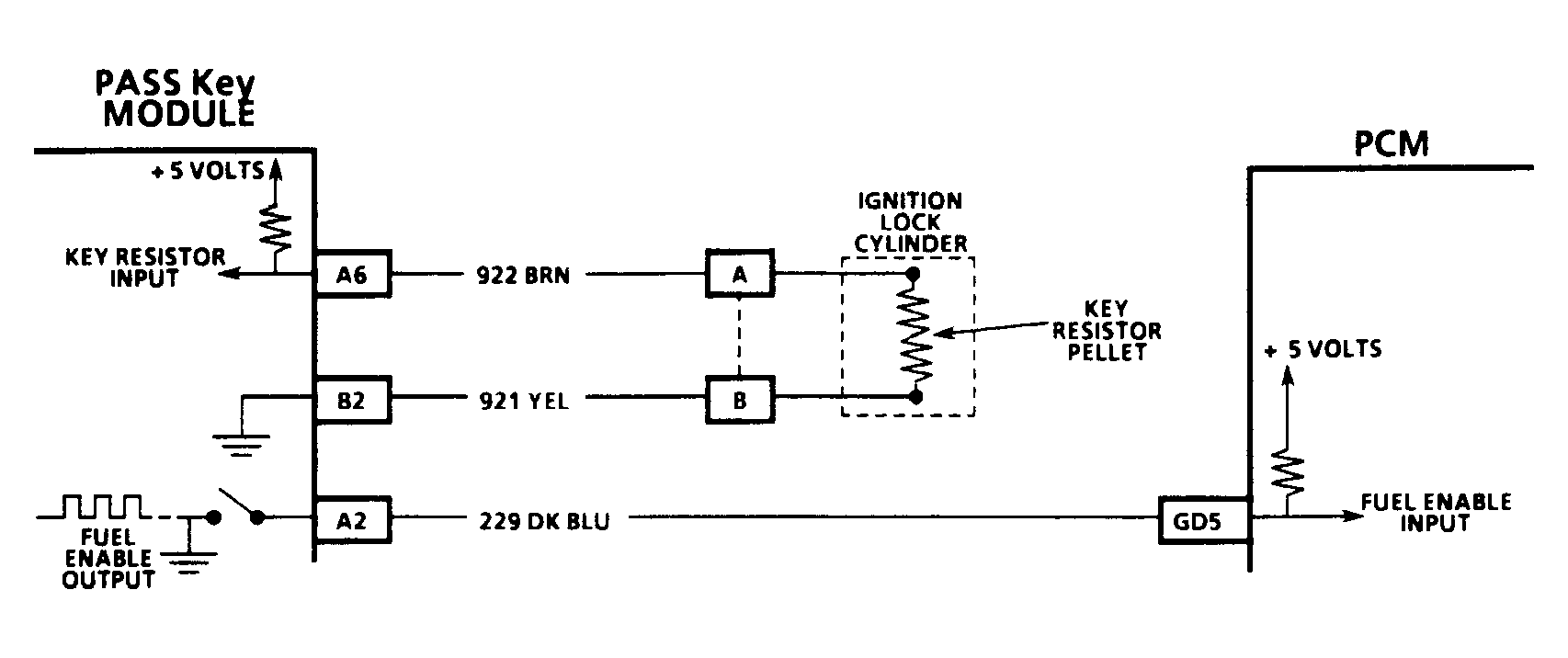
- Check ignition key pellet sensing contacts in ignition lock cylinder. Look into cylinder lock. If contacts are damaged, replace cylinder lock.
- Check fuse No. 11 in instrument panel fuse block.
- Check fuse No. 4 in right underhood fuse block.
- Check fuse No. 8 in relay center.
- Check security indicator bulb in instrument panel.
- A defective resistor pellet within ignition key or incorrect resistance value of key (15 different assigned values) will prevent vehicle from starting. Key must be correct electrically and mechanically. If incorrect key is used to try to start vehicle, decoder will not allow vehicle to start for 2-4 minutes, even after correct key is inserted.