LEMON Manuals: Even more car manuals for everyone: 1960-2025
Home >> Oldsmobile >> 1998 >> LSS V6-3.8L SC VIN 1 >> Repair and Diagnosis >> Cruise Control >> Cruise Control Module >> Service and Repair
April 5, 2026: LEMON Manuals is launched! Read the announcement.

Cruise Control Module: Service and Repair

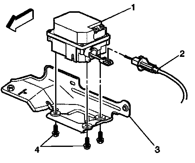
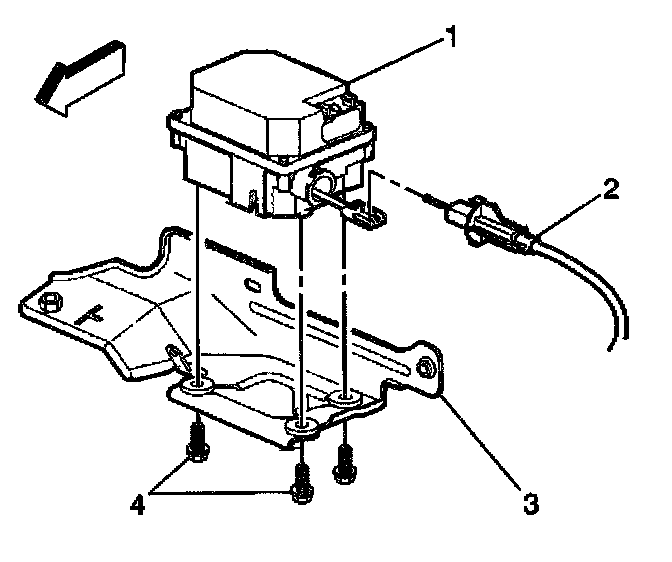
REMOVAL PROCEDURE




1. Remove the injector sight shield.
2. Disconnect the cruise control cable (2) from the following components:
^ The engine bracket
^ The TBI cam
3. Disconnect the cruise control cable from the module assembly (1).
4. Disconnect the electrical connector from the module assembly.




5. Remove the 2 nuts (1) from the mounting studs.
6. Remove the module assembly.
7. Remove the fasteners retaining the cruise control module to the mounting bracket.
8. Remove the cruise control module.

INSTALLATION PROCEDURE




1. Install the cruise control module to the mounting bracket.

NOTICE: Refer to Fastener Notice in Cautions and Notices.

2. Install the cruise control module fasteners.

Tighten
Tighten the fasteners to 7 N.m (62 lb in).

3. Install the module assembly to the mounting studs.
4. Install the 2 nuts (1).

Tighten
Tighten the nuts to 9 N.m (80 lb in).




5. Connect the electrical connector to the module (1).
6. Connect the cruise control cable (2) to the module assembly (1).
7. Connect the cruise control cable to the following components:
^ The engine bracket
^ The TBI cam
8. Adjust the cruise control cable. Refer to Cruise Control Cable Adjustment Service and Repair
9. Install the injector sight shield.