LEMON Manuals: Even more car manuals for everyone: 1960-2025
Home >> Oldsmobile >> 1999 >> LSS V6-3.8L SC VIN 1 >> Repair and Diagnosis >> Heating and Air Conditioning >> Control Module HVAC >> Service and Repair >> Programmer Replacement
April 5, 2026: LEMON Manuals is launched! Read the announcement.

Programmer Replacement






PROGRAMMER REPLACEMENT - AUTOMATIC HVAC

REMOVAL PROCEDURE

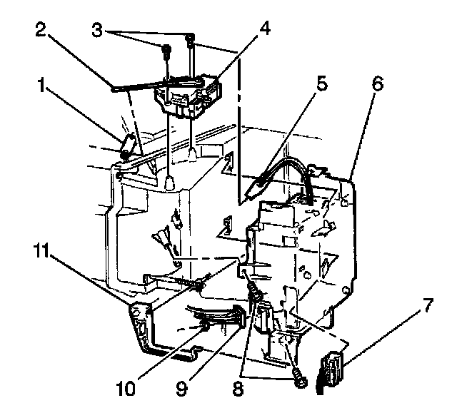
1. Remove the I/P compartment.
2. Remove the right sound insulator.
3. Disconnect the electrical connectors (7).
4. Disconnect the vacuum connectors (9).
5. Remove the rod from the driver temperature valve link (11).
6. Remove the screws (8) that mount the programmer (6) to the vehicle.
7. Remove the programmer (6).

INSTALLATION PROCEDURE

1. Install the programmer (6) into position.

NOTE: Refer to Fastener Notice in Service Precautions.

2. Install the screws (8) in order to secure the programmer (6).

Tighten
Tighten the screws to 1.4 N.m (12 lb in).

3. Connect the electrical connectors (7).
4. Connect the vacuum connectors (9).
5. Install the rod to the driver temperature valve link (11).
6. Adjust the rod to the temperature valve link. Refer to Temperature Valve Link Adjustment.
7. Install the right sound insulator.
8. Install the I/P compartment.