LEMON Manuals: Even more car manuals for everyone: 1960-2025
Home >> Oldsmobile >> 2000 >> Bravada V6-4.3L VIN W >> Repair and Diagnosis >> Powertrain Management >> Transmission Control Systems >> Relays and Modules - Transmission and Drivetrain >> Relays and Modules - Transfer Case >> Control Module >> Service and Repair >> NVG 136-NP4
April 5, 2026: LEMON Manuals is launched! Read the announcement.

NVG 136-NP4


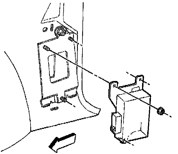
1. Remove the three nuts securing the automatic transfer case control module to the retainer.
2. Disconnect the two wiring harness connectors from the automatic transfer case control module





3. Slide the automatic transfer case control module straight out from the retainer.

Installation Procedure

Notice: Refer to Fastener Notice in Service Precautions.





1. Install the automatic transfer case control module into the retainer with the three nuts.
^ Tighten the nut to 6 Nm (53 inch lbs.).
2. Connect the two wiring harness connectors to the automatic transfer case control module.
3. Start the engine and test the automatic transfer case system for proper shift operation.