LEMON Manuals: Even more car manuals for everyone: 1960-2025
Home >> Oldsmobile >> 2001 >> Intrigue GL >> Repair and Diagnosis >> Accessories & Equipment >> Communication Devices >> Body Control Modules >> System Tests >> Test F: Scan Tool Does Not Communicate With Class 2 Device
April 5, 2026: LEMON Manuals is launched! Read the announcement.

Test F: Scan Tool Does Not Communicate With Class 2 Device

NOTE: Class 2 device may also be referred to as class 2 serial data link
NOTE: To identify wire colors and modules on class 2 serial data link, see appropriate wiring diagram in DATA LINK CONNECTORS article in WIRING DIAGRAMS.
  1. Ensure battery is in good operating condition. Turn ignition switch to OFF position. Connect scan tool to Data Link Connector (DLC). DLC is located below left side of instrument panel, to right of steering column. See Figure . Turn ignition switch to RUN position. If scan tool powers up, go to next step. If scan tool does not power up, go to TEST G: SCAN TOOL DOES NOT POWER UP  .
  2. Turn ignition switch to RUN position. Try to establish scan tool communication with each module on class 2 serial data link (on GM Tech 2 scan tools use CLASS 2 MESSAGE MONITOR feature). If communication with any module is established, go to next step. If communication with any module is not established, go to step  9 .
  3. Using scan tool, select DISPLAY DTC function for each module on class 2 serial data link. Record all displayed DTCs, status of displayed DTCs and module that set DTC. If any DTCs in range of U1000 to U1255 are displayed, go to next step. If no DTCs in range of U1000 to U1255 are displayed, go to PRELIMINARY INSPECTION  under TROUBLE SHOOTING.
  4. If DTC U1000 or DTC U1255 is only DTC displayed, go to DTC U1000 & U1255: CLASS 2 SERIAL DATA LINK LOST COMMUNICATION  under DIAGNOSTIC TESTS. If DTC U1000 or U1255 is not only DTC displayed, go to DTC U1001-U1254: LOSS OF XXX COMMUNICATIONS  under DIAGNOSTIC TESTS.
  5. Turn ignition switch to OFF position. Disconnect scan tool from DLC. Check DLC terminals No. 2 (Purple wire) and No. 5 (Black wire) for poor connections. See Figure . If poor connections are not found, go to next step. If poor connections are found, repair connections as necessary. After repair, perform BODY CONTROL MODULE DIAGNOSTIC SYSTEM CHECK  under SELF-DIAGNOSTIC SYSTEM.
  6. Test Black wire between DLC terminal No. 5 and ground point located below instrument panel, to right of steering column for an open. See DATA LINK CONNECTORS article in WIRING DIAGRAMS. If an open is not found, go to next step. If an open is found, repair as necessary. After repair, perform BODY CONTROL MODULE DIAGNOSTIC SYSTEM CHECK  under SELF-DIAGNOSTIC SYSTEM.
  7. NOTE: Splice pack SP205 may also be referred to as star connector.
  8. Disconnect splice pack SP205 connectors. Splice pack SP205 is located below instrument panel, to right of steering column. See Figure . Check splice pack SP205 connectors for poor connections. If poor connections are not found, go to next step. If poor connections are found, repair as necessary. After repair, perform BODY CONTROL MODULE DIAGNOSTIC SYSTEM CHECK  under SELF-DIAGNOSTIC SYSTEM.
  9. Test Purple wire between DLC terminal No. 2 and splice pack SP205 harness connector terminal "A" for open or short. See Figure and Fig 1 . If open or short is not found, go to next step. If open or short is found, repair as necessary. After repair, perform BODY CONTROL MODULE DIAGNOSTIC SYSTEM CHECK  under SELF-DIAGNOSTIC SYSTEM.
    Fig 1: Identifying Splice Pack SP205 Harness Connector Terminals
    G98G00444Courtesy of GENERAL MOTORS CORP.
  10. Connect a jumper wire between splice pack SP205 harness connector terminal "A" (Purple wire) and terminal "M" (Light Green wire). Turn ignition switch to RUN position. Using scan tool, attempt to communicate with Body Control Module (BCM). If scan tool does not communicate with BCM, go to next step. If scan tool communicates with BCM, leave jumper wire connected and go to step  11 .
  11. Turn ignition switch to OFF position. Disconnect BCM Purple 16-pin harness connector C2. BCM is located behind left side of instrument panel, to left of steering column. See Figure . Test Light Green wire between BCM harness connector C2 terminal A8 and splice pack SP205 harness connector terminal "M" for short to ground (ignition off) or short to voltage (ignition on). See Figure and Fig 1 . If short to ground or short to voltage is not found, go to step  21 . If short to ground or short to voltage is found, repair as necessary. After repair, go to step  23 .
  12. Connect another jumper wire between splice pack SP205 harness connector terminal "A" (Purple wire) and terminal "B" (Dark Green wire). Turn ignition switch to RUN position. Using scan tool, attempt to communicate with PCM. If scan tool does not communicate with PCM, go to next step. If scan tool communicates with PCM, go to step  13 .
  13. Turn ignition switch to OFF position. Disconnect Powertrain Control Module (PCM) harness connectors. PCM is located in front left corner of engine compartment, inside air cleaner assembly. Test Dark Green wire between splice pack SP205 harness connector terminal "B" and PCM Natural harness connector C1 terminal No. 58 for short to ground (ignition off) or short to voltage (ignition on). See Fig 1 and Fig 2 . If short to ground or short to voltage is not found, go to step  21 . If short to ground or short to voltage is found, repair as necessary. After repair, go to step  23 .
    Fig 2: Identifying Powertrain Control Module Harness Connector C1 & C2 Terminals
    G00059225Courtesy of GENERAL MOTORS CORP.
  14. Disconnect jumper wire from splice pack SP205 harness connector terminal "B" (Dark Green wire) and connect it to splice pack SP205 harness connector terminal "E" (Light Blue wire). Turn ignition switch to RUN position. Using scan tool, attempt to communicate with Electronic Brake Control Module (EBCM). If scan tool does not communicate with EBCM, go to next step. If scan tool communicates with EBCM, go to step  15 .
  15. Turn ignition switch to OFF position. Disconnect EBCM harness connector. EBCM is located in left rear of engine compartment, near left strut tower. Test Light Blue wire between splice pack SP205 harness connector terminal "E" and EBCM harness connector terminal B7 for short to ground (ignition off) or short to voltage (ignition on). See Fig 1 and Fig 3 . If short to ground or short to voltage is not found, go to step  21 . If short to ground or short to voltage is found, repair as necessary. After repair, go to step  23 .
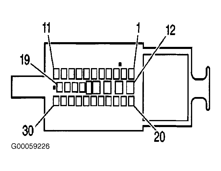
    Fig 3: Identifying Electronic Brake Control Module Harness Connector Terminals
    G00059226Courtesy of GENERAL MOTORS CORP.
  16. Disconnect jumper wire from splice pack SP205 harness connector terminal "E" (Light Blue wire) and connect it to splice pack SP205 harness connector terminal "F" (Dark Blue wire). Turn ignition switch to RUN position. Using scan tool, attempt to communicate with Supplemental Inflatable Restraint (SIR) system Sensing and Diagnostic Module (SDM). If scan tool does not communicate with SDM, go to next step. If scan tool communicates with SDM, go to step  17 .
  17. Turn ignition switch to OFF position. Disconnect SDM harness connector. SDM is located under right front seat, under carpet. Test Dark Blue wire between splice pack SP205 harness connector terminal "F" and SDM harness connector terminal A5 for short to ground (ignition off) or short to voltage (ignition on). See Fig 1 and Fig 4 . If short to ground or short to voltage is not found, go to step  21 . If short to ground or short to voltage is found, repair as necessary. After repair, go to step  23 .
    Fig 4: Identifying Sensing & Diagnostic Module Harness Connector Terminals
    G00059227Courtesy of GENERAL MOTORS CORP.
  18. Disconnect jumper wire from splice pack SP205 harness connector terminal "F" (Dark Blue wire) and connect it to splice pack SP205 harness connector terminal "G" (Gray wire). Turn ignition switch to RUN position. Using scan tool, attempt to communicate with Instrument Panel Cluster (IPC). If scan tool does not communicate with IPC, go to next step. If scan tool communicates with IPC, go to step  19 .
  19. Turn ignition switch to OFF position. Disconnect Instrument Panel Cluster (IPC) harness connector. Test Gray wire between splice pack SP205 harness connector terminal "G" and IPC harness connector terminal B2 for short to ground (ignition off) or short to voltage (ignition on). See Fig 1 and Fig 5 . If short to ground or short to voltage is not found, go to next step. If short to ground or short to voltage is found, repair as necessary. After repair, go to step  23 .
    Fig 5: Identifying Instrument Panel Cluster Harness Connector Terminals
    G97E28419Courtesy of GENERAL MOTORS CORP.
  20. NOTE: Heater-A/C control module may also be referred to as heater-A/C control unit or HVAC module.
  21. Disconnect jumper wire from splice pack SP205 harness connector terminal "G" (Gray wire) and connect it to splice pack SP205 harness connector terminal "L" (White wire). Turn ignition switch to RUN position. Using scan tool, attempt to communicate with heater-A/C control module. If scan tool does not communicate with heater-A/C control module, go to next step. If scan tool communicates with heater-A/C control module, go to step  23 .
  22. Turn ignition switch to OFF position. Disconnect heater-A/C control module harness connector. HVAC module is located in center of instrument panel. Test White wire between splice pack SP205 harness connector terminal "L" and HVAC module harness connector terminal D12 for short to ground (ignition off) or short to voltage (ignition on). See Fig 1 and Fig 6 . If short to ground or short to voltage is not found, go to next step. If short to ground or short to voltage is found, repair as necessary. After repair, go to step  23 .
    Fig 6: Identifying Heater-A/C Control Module Harness Connector Terminals
    G00032222Courtesy of GENERAL MOTORS CORP.
  23. Check for poor connections at appropriate harness connector for module not communicating with scan tool. If poor connections are not found, go to next step. If poor connections are found, repair as necessary. After repair, go to step  23 .
  24. Replace module not communicating with scan tool. See appropriate removal and installation procedure under REMOVAL & INSTALLATION  . After repair, go to next step.
  25. NOTE: Scan tool may require a 10 second power-up reset before class 2 serial data link can communicate with scan tool if a short occurred on class 2 serial data link.
  26. Turn ignition switch to OFF position. Disconnect or turn off scan tool. Remove all jumper wires and reconnect all disconnected harness connectors, splice pack SP205 and modules. Turn ignition switch to RUN position. Wait 10 seconds before proceeding. Reinstall or turn scan tool on and select DISPLAY DTC function for each module on class 2 serial data link. Record all displayed DTCs, status of displayed DTCs and module that set DTC. If no DTCs that begin with "U" are displayed as CURRENT, go to next step. If any DTCs that begin with "U" are displayed as CURRENT, go to step  25 .
  27. If any DTCs were recorded that did not begin with "U", go to next step. If DTCs were recorded that begin with "U", go to step  27 .
  28. Diagnose and repair recorded DTCs. Perform appropriate diagnostic procedure. See DIAGNOSTIC TROUBLE CODE DEFINITIONS  under SELF-DIAGNOSTIC SYSTEM. After repair, go to next step.
  29. If all DTCs have been diagnosed, go to next step. If all DTCs have not been diagnosed, repeat step  25 .
  30. Using scan tool, clear DTCs. System is okay.