LEMON Manuals: Even more car manuals for everyone: 1960-2025
Home >> Oldsmobile >> 2002 >> Bravada AWD >> Repair and Diagnosis (Single Page) >> Quick Lookups >> Wiring Diagrams >> OEM Connector End Views >> Connector End Views >> Theft Deterrent Control Module Connector End View
April 5, 2026: LEMON Manuals is launched! Read the announcement.

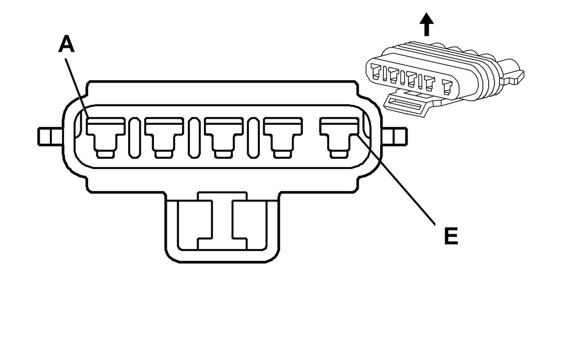
Theft Deterrent Control Module Connector End View

Theft Deterrent Control Module

GM805442Courtesy of GENERAL MOTORS CORP.
Connector Part Information
  • 16211833
  • 5-Way F Metri-Pack 150 Series (BLK)
Pin Wire Color Circuit No. Function
A ORN 1140 Battery Positive Voltage
B PNK 1020 Ignition 0 Voltage
C TAN 751 Ground
D WHT 710 Class 2 Serial Data
E WHT 1132 Class 2 Serial Data