LEMON Manuals: Even more car manuals for everyone: 1960-2025
Home >> Plymouth >> 1983 >> Sapporo Automatic >> Repair and Diagnosis >> Engine Performance >> System >> PCV System >> Maintenance
April 5, 2026: LEMON Manuals is launched! Read the announcement.

PCV System: Maintenance

Check and clean entire crankcase ventilation system every 5 years/50,000 miles.

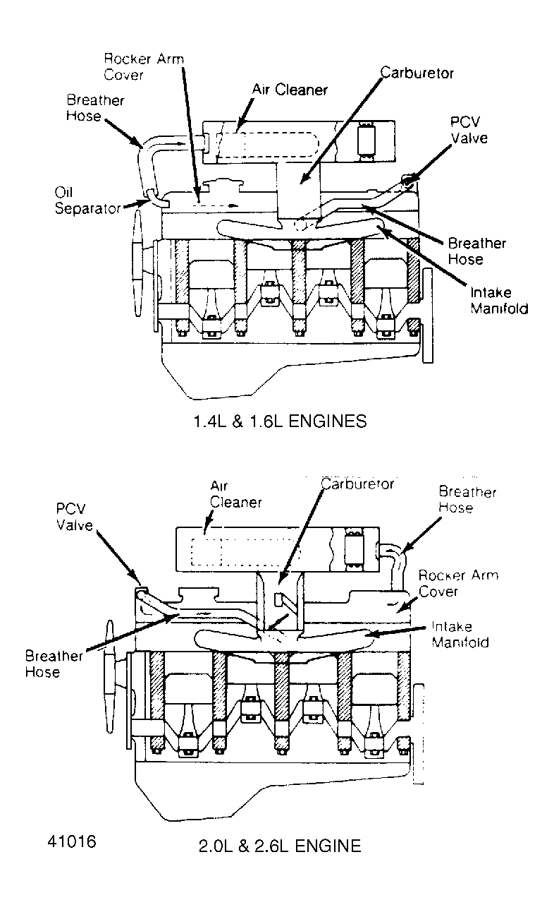
Fig 1: Crankcase Ventilation System Schematic Note blow-by gas and fresh air flows.
G41016