LEMON Manuals: Even more car manuals for everyone: 1960-2025
Home >> Pontiac >> 1998 >> Sunfire L4-2.2L VIN 4 >> Repair and Diagnosis >> Cruise Control >> Cruise Control Module >> Service and Repair >> Cruise Control Module Replacement (LN2)
April 5, 2026: LEMON Manuals is launched! Read the announcement.

Cruise Control Module Replacement (LN2)





REMOVAL PROCEDURE
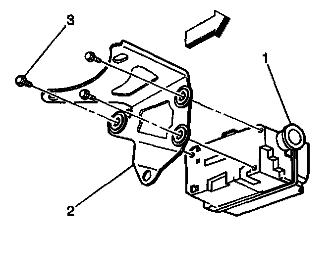
The cruise control module assembly is mounted on the right front strut tower. The module assembly has an electronic controller and an electric stepper motor in order to vary the throttle with each different cruise control mode. The module assembly is not serviceable.

CAUTION: Refer to Battery Disconnect Caution in Cautions and Notices.

1. Disconnect the negative battery cable.
2. Disconnect the cruise control cable.
3. Disconnect the electrical connector from the module assembly.
4. Remove the retaining nuts from the mounting studs.
5. Remove the module assembly (1) from the right strut tower.
6. Remove the module assembly from the mounting bracket.

INSTALLATION PROCEDURE

NOTE: Refer to Fastener Notice in Cautions and Notices.

IMPORTANT: Do not pre-tap screws to the module without mounting a bracket in between the module and the screw. The added length of the screw may damage the cruise control module.

1. Install the module assembly (1) to the mounting bracket.

Tighten
Tighten the nuts to 12 N.m (106 lb in).

2. Install the module assembly to strut tower.
3. Install the nuts.

Tighten
Tighten the nuts to 25 Nm (18 lb ft).

4. Connect the electrical connector to the module.
5. Install the cruise control cable. 6.
6. Adjust cruise control cable.
7. Connect negative battery cable.