LEMON Manuals: Even more car manuals for everyone: 1960-2025
Home >> Pontiac >> 2000 >> Firebird V8-5.7L VIN G >> Repair and Diagnosis >> Powertrain Management >> Computers and Control Systems >> Relays and Modules - Computers and Control Systems >> Body Control Module >> Diagrams >> Electrical Diagrams >> Brake Switch Circuit
April 5, 2026: LEMON Manuals is launched! Read the announcement.

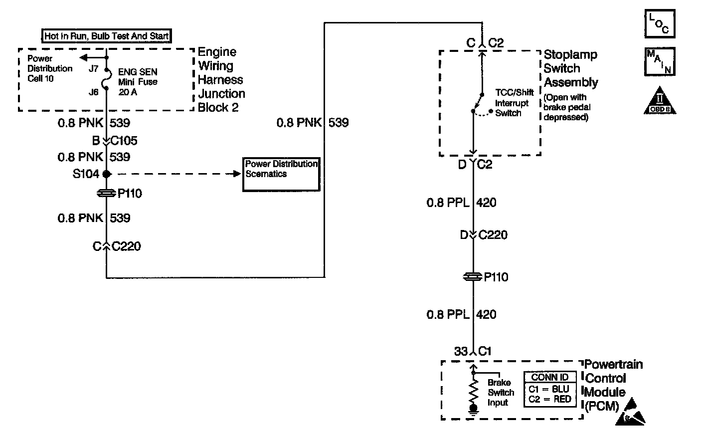
Brake Switch Circuit

Schematic: