LEMON Manuals: Even more car manuals for everyone: 1960-2025
Home >> Pontiac >> 2001 >> Aztek Base, AWD >> Repair and Diagnosis >> External Pages >> Different car >> Section 1166 (Wiper System And Washer System) >> Repair Instructions >> Wiper Drive System Module Replacement >> Installation Procedure
April 5, 2026: LEMON Manuals is launched! Read the announcement.

Installation Procedure

WARNING: This page is about a different car, the 2003 Chevrolet Corvette. However, it is still accessible from the selected car via links, so may be relevant.
  1. Position the wiper drive system module to the vehicle.
  2. Connect the wiper motor electrical connector.
  3. Install the wiper drive system module into the cowl area.
    NOTE: Refer to FASTENER NOTICE in Cautions and Notices.
  4. Install the wiper drive system module screws.

    Tighten  Tighten the screws to 10 N.m (89 lb in).

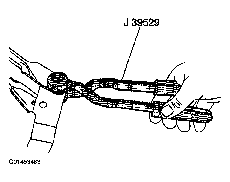
  5. Using the J 39529, connect the wiper transmission to the wiper motor crank arm.
  6. Install the air inlet grille panel. Refer to AIR INLET GRILLE PANEL REPLACEMENT in Body Front End.
    Fig 1: Wiper Drive System Module Screws
    G01453462Courtesy of GENERAL MOTORS CORP.
  7. Inspect the wipers for proper operation.
    Fig 2: Connecting Wiper Transmission To Wiper Motor Crank Arm Using Wiper Linkage Installer
    G01453463Courtesy of GENERAL MOTORS CORP.