LEMON Manuals: Even more car manuals for everyone: 1960-2025
Home >> Pontiac >> 2001 >> Aztek Base, AWD >> Repair and Diagnosis >> External Pages >> Different car >> Section 659 (Power Seat System) >> Component Locator >> Power Seat Systems Component Views
April 5, 2026: LEMON Manuals is launched! Read the announcement.

Power Seat Systems Component Views

WARNING: This page does not describe the selected car, but rather 7 other vehicles, including the 2002 GMC Yukon XL, 2002 GMC Yukon, 2002 Chevrolet Tahoe, 2002 Chevrolet Suburban, and 2002 Chevrolet Avalanche. However, it is still accessible from the selected car via links, so may be relevant.
Fig 1: Driver Seat (W/O Memory) Component View
GM397558Courtesy of GENERAL MOTORS CORP.
Callout Component Name
1 Seat Belt Exit Housing
2 Lumbar
3 Seat Belt Retractor
4 Recliner Handle
5 Floor Mounting Bracket
6 Power Seat Adjuster (6-Way)
7 Lumbar Handle (Manual)
8 Inflatable Restraint Sensing and Diagnostic Module
9 Seat Cushion
10 Armrest
11 Seat Back
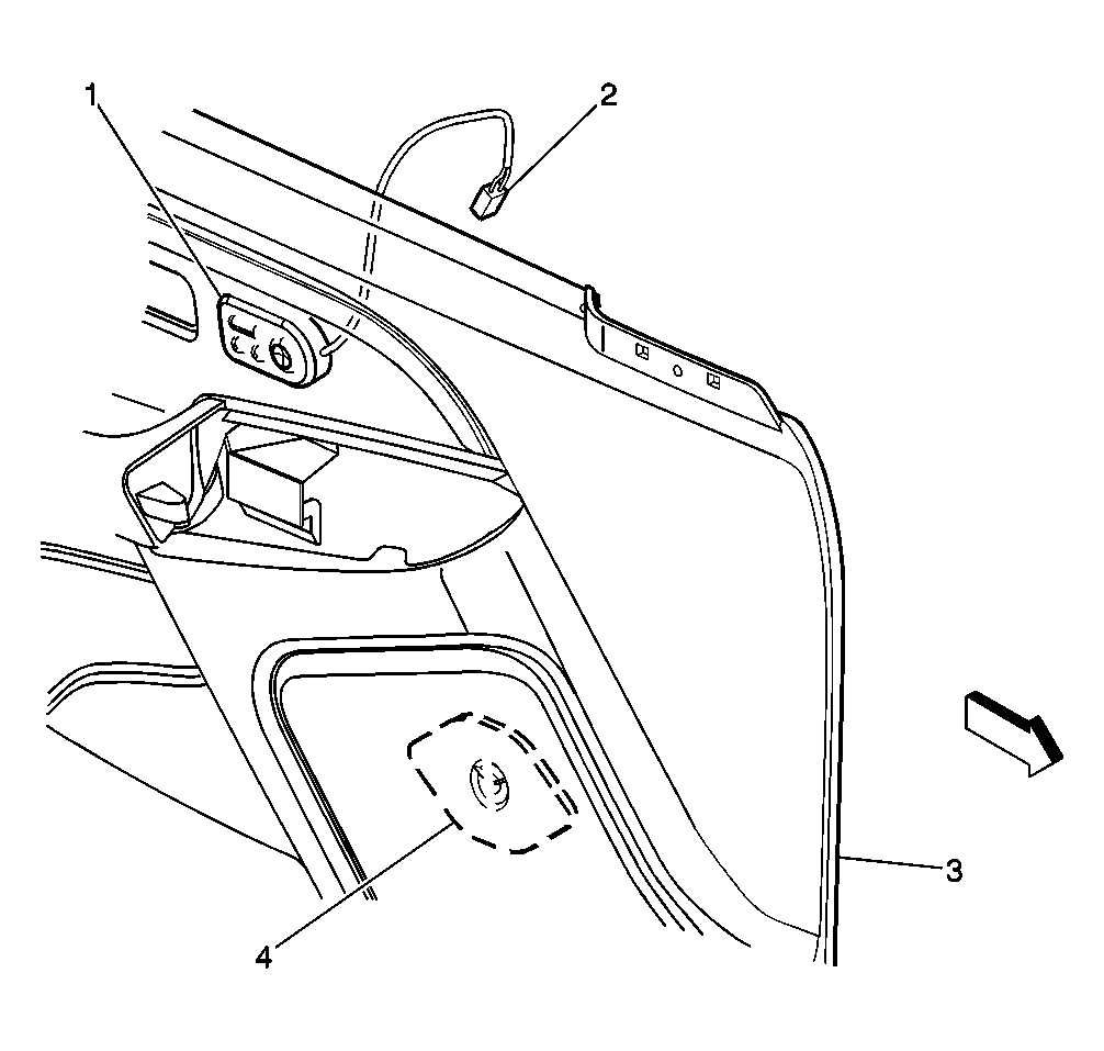
Fig 2: Driver Door Panel Components (w/Heated Seats)
GM350036Courtesy of GENERAL MOTORS CORP.
Callout Component Name
1 Heated Seat Switch-Driver
2 Heated Seat Switch Electrical Connector
3 Left Door Panel
4 Speaker-LF Door Tweeter
Fig 3: Front Seat Wiring (w/Heat)
GM656608Courtesy of GENERAL MOTORS CORP.
Callout Component Name
1 C305
2 C399
3 Power Seat Wiring Harness to Heated Seat Switch
4 C301
Fig 4: Driver Door Panel (W/Heated Seats)
GM776923Courtesy of GENERAL MOTORS CORP.
Callout Component Name
1 Driver Door Trim Panel
2 Heated Seat Switch - Driver
Fig 5: Center Console (Utility W/Rear Heated Seats)
GM776924Courtesy of GENERAL MOTORS CORP.
Callout Component Name
1 Front Floor Console
2 Heated Seat Switch - RR
3 Heated Seat Switch - LR
Fig 6: Driver Seat Inlines, Heated Seat Relay, Memory Module and Thermistor-Luxury Full Feature Seat
GM784811Courtesy of GENERAL MOTORS CORP.
Callout Component Name
1 C324
2 Memory Seat Module - Driver C2
3 Memory Seat Module - Driver C1
4 Memory Seat Module - Driver
5 C321
6 C320
7 Memory Seat Module - Driver C3
8 PTC Thermistor
9 C305
10 Inflatible Restraint Side Impact Sensor (SIS) - Left Connector
11 C323
12 C325
13 C322
14 Heated Seat Relay and Logic
15 Seat Belt Switch Connector
16 Heated Seat Element Connector - Driver Back
Fig 7: Horizontal Motor Front/Rear, Vertical Motor and Recliner Motor - Luxury Full Feature Seat, Driver
GM783182Courtesy of GENERAL MOTORS CORP.
Callout Component Name
1 Seat Horizontal Motor
2 Seat Recliner Motor
3 Seat Rear Vertical Motor
4 Seat Front Vertical Motor
Fig 8: Rear Heated Seat Harness
GM788986Courtesy of GENERAL MOTORS CORP.
Callout Component Name
1 Heated Seat Element Connector
2 Heated Seat Module and Conector
3 Seat Cushion
4 Heated Seat Harness Connector
5 PTC Thermistor