LEMON Manuals: Even more car manuals for everyone: 1960-2025
Home >> Pontiac >> 2001 >> Aztek Base, AWD >> Repair and Diagnosis >> External Pages >> Different car >> Section 672 (Stationary Window System) >> Component Locator >> Stationary Windows Component Views
April 5, 2026: LEMON Manuals is launched! Read the announcement.

Stationary Windows Component Views

WARNING: This page is about a different car, the 2002 GMC Savana Special, 2002 GMC Savana Camper Special, 2002 GMC Savana, and 2002 Chevrolet Chevy Express. However, it is still accessible from the selected car via links, so may be relevant.
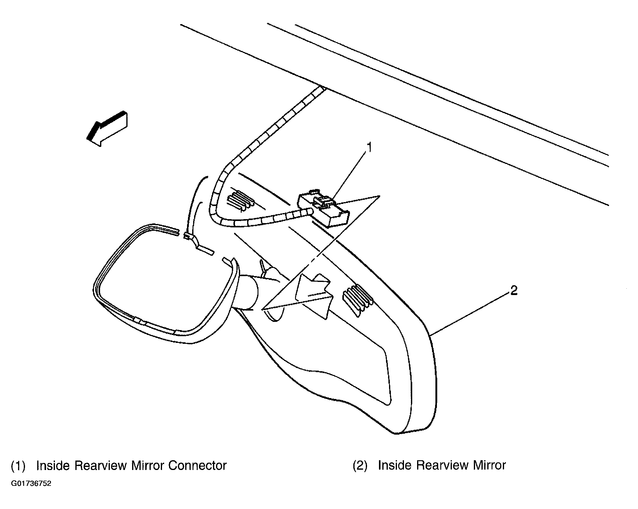
Fig 1: Inside Rearview Mirror
G01736752Courtesy of GENERAL MOTORS CORP.
Fig 2: Rear Defogger Details- Stationary Window
G01736753Courtesy of GENERAL MOTORS CORP.
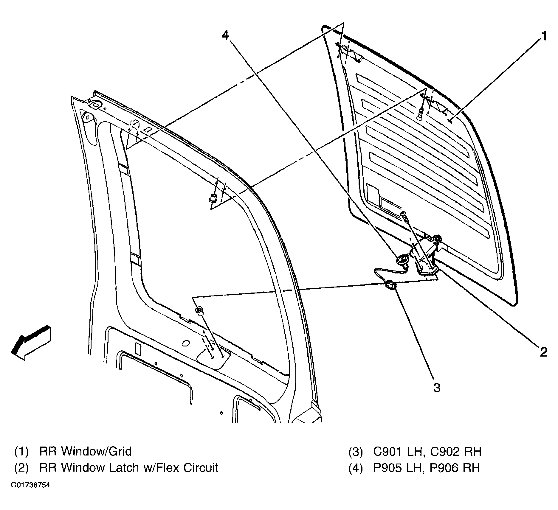
Fig 3: Rear Defogger Details- Swing Out Window
G01736754Courtesy of GENERAL MOTORS CORP.
Fig 4: Body Wiring - Dome Lamps, Rear Window Defroster Relay
G01736755Courtesy of GENERAL MOTORS CORP.