LEMON Manuals: Even more car manuals for everyone: 1960-2025
Home >> Pontiac >> 2001 >> Aztek Base, AWD >> Repair and Diagnosis >> External Pages >> Different car >> Section 676 (Lighting Systems) >> Component Locator >> Lighting Systems Component Views
April 5, 2026: LEMON Manuals is launched! Read the announcement.

Lighting Systems Component Views

WARNING: This page is about a different car, the 2002 GMC Sierra, 2002 GMC Cab & Chassis Sierra, 2002 Chevrolet Silverado, and 2002 Chevrolet Cab & Chassis Silverado. However, it is still accessible from the selected car via links, so may be relevant.
Fig 1: Locating Underhood Lamp Assembly
G01712265Courtesy of GENERAL MOTORS CORP.
Fig 2: Locating Roof Marker & Clearance Lamps
G01712266Courtesy of GENERAL MOTORS CORP.
Fig 3: Locating Junction Block - Rear Lamps
G01712267Courtesy of GENERAL MOTORS CORP.
Fig 4: Locating Roof Lamps Harness
G01712268Courtesy of GENERAL MOTORS CORP.
Fig 5: Locating Left Fog Lamp (RH Similar)
G01712269Courtesy of GENERAL MOTORS CORP.
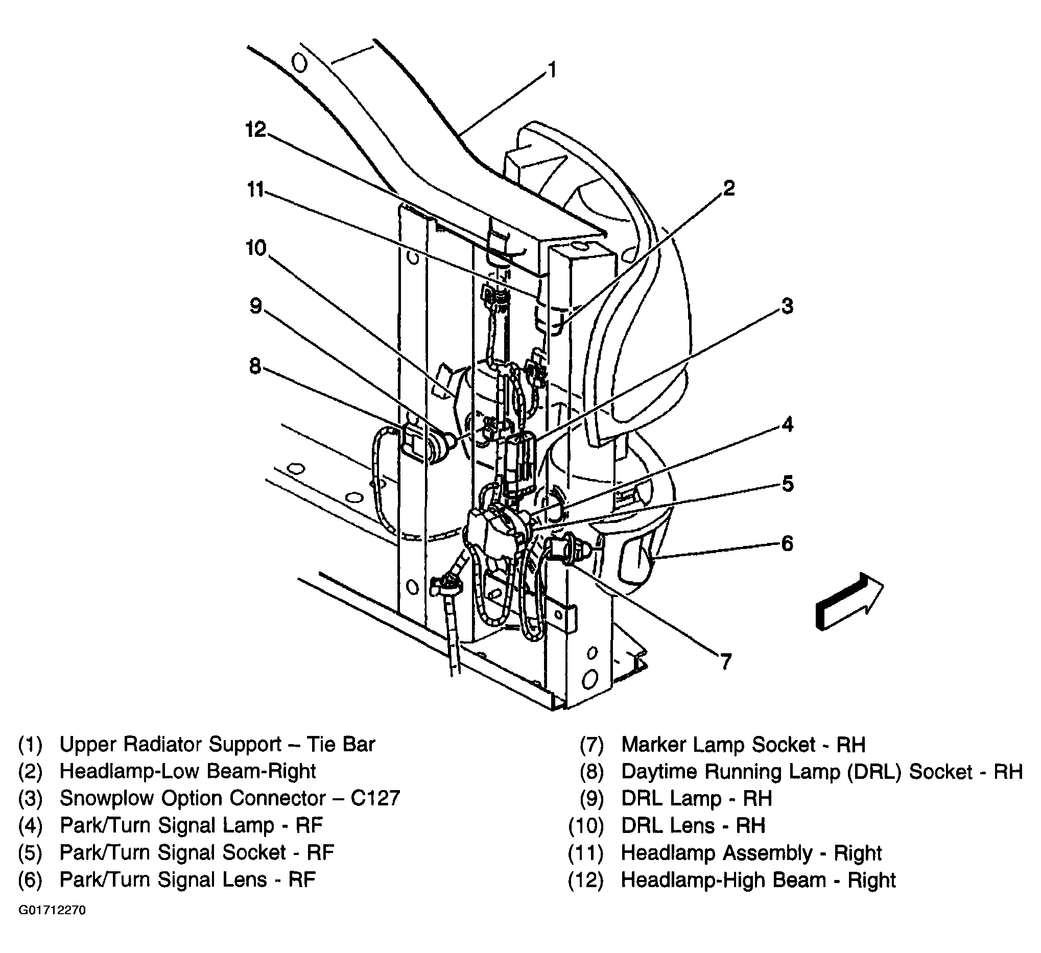
Fig 6: Locating Electrical Components On RH Front Of Vehicle
G01712270Courtesy of GENERAL MOTORS CORP.
Fig 7: Locating Electrical Components LH Front Of Vehicle
G01712271Courtesy of GENERAL MOTORS CORP.
Fig 8: Locating Rear Marker Lamps LH (RH Similar)
G01712272Courtesy of GENERAL MOTORS CORP.
Fig 9: Locating Sunload Sensor Assembly
G01712273Courtesy of GENERAL MOTORS CORP.
Fig 10: Locating Center High Mounted Stop Lamp (CHMSL)
G01712274Courtesy of GENERAL MOTORS CORP.
Fig 11: Locating Steering Column Switches
G01712275Courtesy of GENERAL MOTORS CORP.
Fig 12: Locating Instrument Panel Switches (Left Side Of Dash)
G01712276Courtesy of GENERAL MOTORS CORP.
Fig 13: Locating Fuse Block, BCM & DLC Connectors (Left Side Of Dash)
G01712277Courtesy of GENERAL MOTORS CORP.
Fig 14: Locating Accessory Switch Housing (Center Of Dash)
G01712278Courtesy of GENERAL MOTORS CORP.
Fig 15: Locating Accessory Power Outlets (Center Of Dash)
G01712279Courtesy of GENERAL MOTORS CORP.
Fig 16: Locating Glove Compartment Lamp & Switch
G01712280Courtesy of GENERAL MOTORS CORP.
Fig 17: Locating Overhead Console Electrical Connectors (Extended Cab)
G01712281Courtesy of GENERAL MOTORS CORP.
Fig 18: Locating Left Door Courtesy Lamp (RH Similar)
G01712282Courtesy of GENERAL MOTORS CORP.
Fig 19: Locating Rear License Lamps
G01712283Courtesy of GENERAL MOTORS CORP.
Fig 20: Locating Rear License Lamp (Without Rear Bumper)
G01712284Courtesy of GENERAL MOTORS CORP.
Fig 21: Locating Trailer Wiring Connector (Heavy Duty)
G01712285Courtesy of GENERAL MOTORS CORP.
Fig 22: Locating Camper Wiring Harness
G01712286Courtesy of GENERAL MOTORS CORP.