LEMON Manuals: Even more car manuals for everyone: 1960-2025
Home >> Pontiac >> 2001 >> Aztek Base, AWD >> Repair and Diagnosis >> External Pages >> Different car >> Section 761 (Lighting System) >> Combination Switch Disassembly/Assembly
April 5, 2026: LEMON Manuals is launched! Read the announcement.

Combination Switch Disassembly/Assembly

WARNING: This page is about a different car, the 2004 Mazda 3. However, it is still accessible from the selected car via links, so may be relevant.
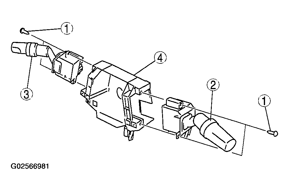
  1. Disassemble in the order indicated in the table.
    Fig 1: Disassembling/Assembling Combination Switch
    G02566981Courtesy of MAZDA MOTORS CORP.
    DISASSEMBLING ORDER OF COMBINATION OF SWITCH

    Removal Order Part
    1 Screw
    2 Wiper and washer switch
    3 Light switch
    4 Body
  2. Assemble in the reverse order of disassembly.