LEMON Manuals: Even more car manuals for everyone: 1960-2025
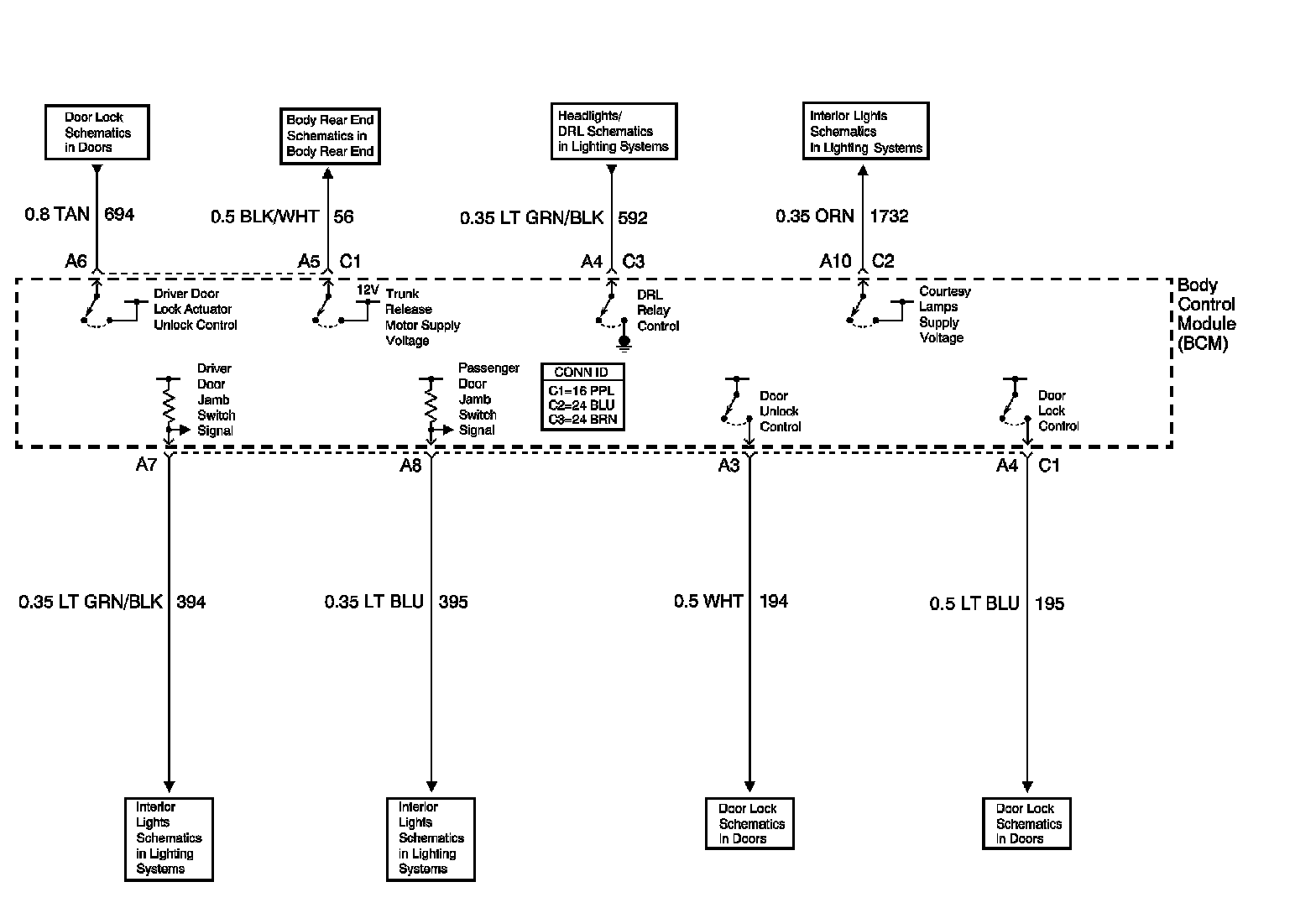
Home >> Pontiac >> 2001 >> Sunfire L4-2.2L VIN 4 >> Repair and Diagnosis >> Powertrain Management >> Computers and Control Systems >> Relays and Modules - Computers and Control Systems >> Body Control Module >> Diagrams >> Electrical Diagrams >> Controlled/Monitored Subsystem References 1 of 3
April 5, 2026: LEMON Manuals is launched! Read the announcement.

Controlled/Monitored Subsystem References 1 of 3