LEMON Manuals: Even more car manuals for everyone: 1960-2025
Home >> Pontiac >> 2002 >> Aztek AWD >> Repair and Diagnosis >> External Pages >> Different car >> Section 1232 (Wiring Systems - Specifications, Component Views And Connector End Views) >> Component Locator >> Electrical Center Identification Views >> Fuse Block - I/P Bottom View >> I/P C4
April 5, 2026: LEMON Manuals is launched! Read the announcement.

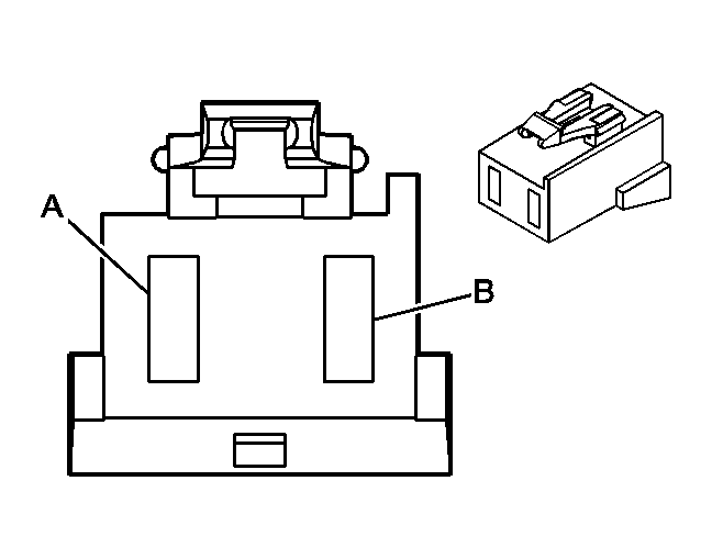
I/P C4

WARNING: This page is about a different car, the 2004 Chevrolet Corvette. However, it is still accessible from the selected car via links, so may be relevant.
Fuse Block Terminal Identification - I/P C4

GM280788Courtesy of GENERAL MOTORS CORP.
Connector Part Information
  • 12146038
  • 2-Way F MaxiFuse (LT GRY)
Pin Wire Color Circuit No. Function
A RED 842 Battery Positive Voltage
B RED 1442 Battery Positive Voltage