LEMON Manuals: Even more car manuals for everyone: 1960-2025
Home >> Pontiac >> 2002 >> Aztek AWD >> Repair and Diagnosis >> External Pages >> Different car >> Section 1232 (Wiring Systems - Specifications, Component Views And Connector End Views) >> Component Locator >> Splice Pack Connector End Views >> SP201
April 5, 2026: LEMON Manuals is launched! Read the announcement.

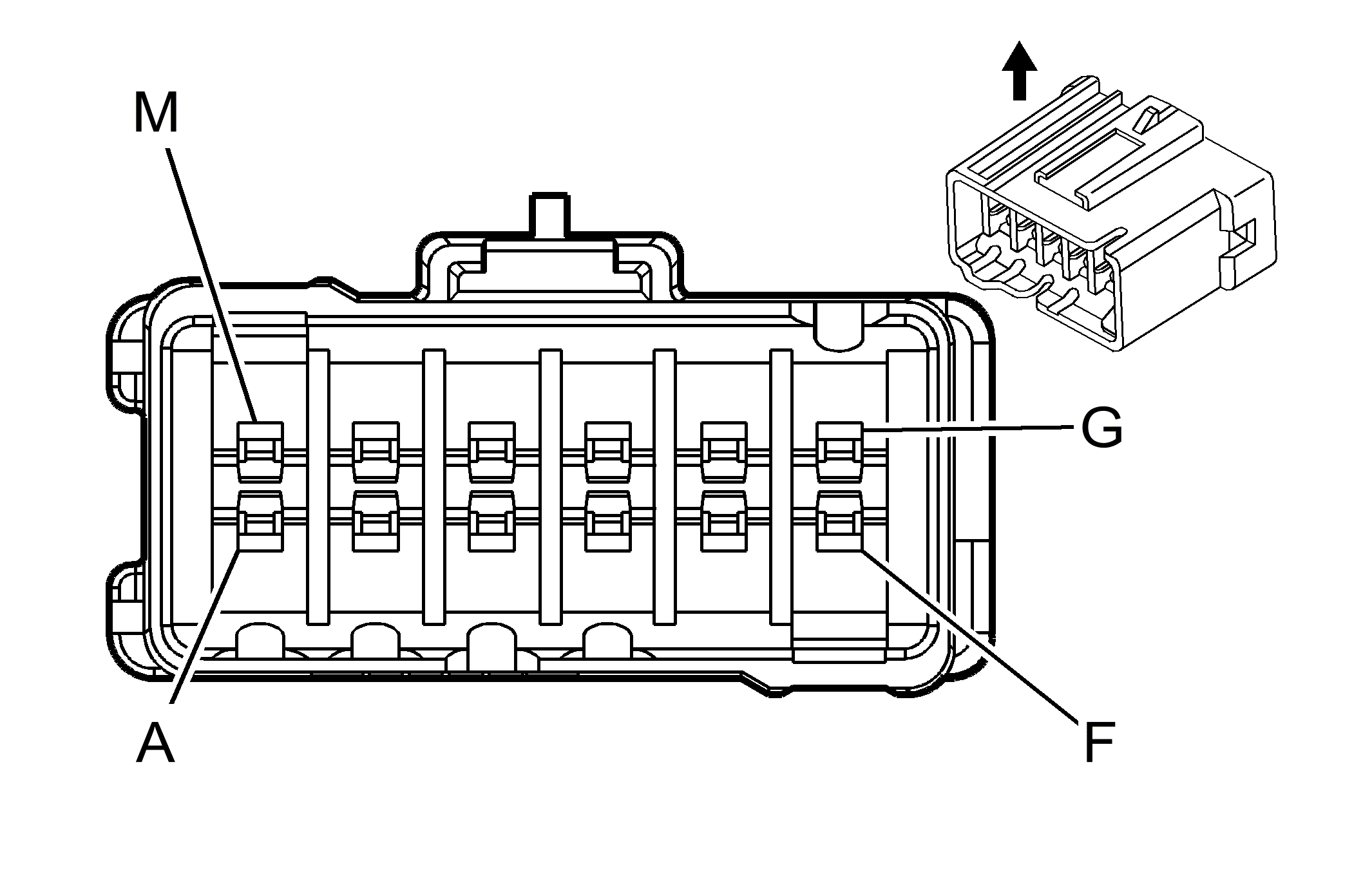
Splice Pack Connector End Views: SP201

WARNING: This page is about a different car, the 2004 Chevrolet Corvette. However, it is still accessible from the selected car via links, so may be relevant.
Splice Pack Terminal Identification SP201

GM707471Courtesy of GENERAL MOTORS CORP.
Connector Part Information
  • 15305294
  • 12-Way F Metri-Pack 280 Series Splice Saver DBL (BLK)
Pin Wire Color Circuit Number Function
A-G BLK 150 Ground
H- J BLK 150 Ground
BLK 150 Ground
K BLK 150 Ground
L - - Not Used
M BLK 150 Ground (W/ N37)