LEMON Manuals: Even more car manuals for everyone: 1960-2025
Home >> Pontiac >> 2002 >> Aztek AWD >> Repair and Diagnosis >> External Pages >> Different car >> Section 722 (HVAC System) >> Basic System >> A/C Unit Disassembly/Assembly >> Evaporator Temperature Sensor Assembly Note
April 5, 2026: LEMON Manuals is launched! Read the announcement.

Evaporator Temperature Sensor Assembly Note

WARNING: This page is about a different car, the 2004 Mazda 3. However, it is still accessible from the selected car via links, so may be relevant.
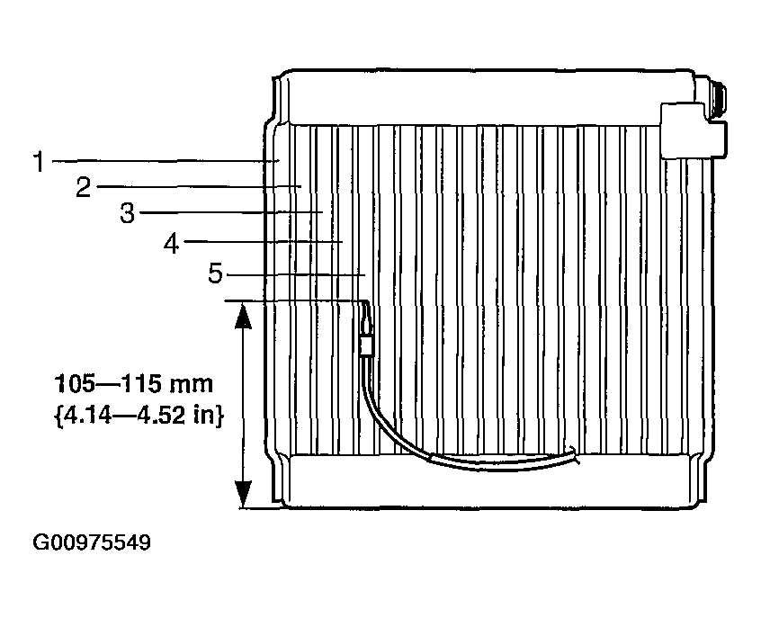
  1. Assemble the evaporator temperature sensor as shown in the figure.
    Fig 1: Assembling Evaporator Temperature Sensor
    G00975549Courtesy of MAZDA MOTORS CORP.