LEMON Manuals: Even more car manuals for everyone: 1960-2025
Home >> Pontiac >> 2002 >> Aztek FWD >> Repair and Diagnosis >> Brakes >> Traction Control >> Anti-Lock Brake System >> Repair Instructions >> Electronic Brake Control Module (EBCM) Replacement >> Installation Procedure
April 5, 2026: LEMON Manuals is launched! Read the announcement.

Installation Procedure

Important:  Use only new wave springs and screws supplied with the new EBCM.

  1. Clean the BPMV surface with alcohol using a clean rag.
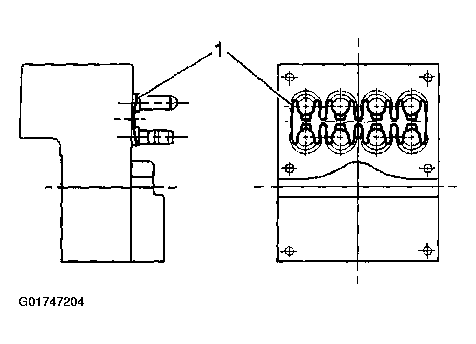
  2. Install the EBCM (1) to the BPMV.
    NOTE: Refer to FASTENER NOTICE .
  3. Install the 6 screws that attaches the EBCM to BPMV.

    Tighten 

    • Tighten the top 4 mounting screws to 5 N.m (44 lb in). Tighten screws in an X pattern.
    • Tighten the bottom 2 mounting screws to 5 N.m (44 lb in).
      Fig 1: Installing EBCM To BPMV
      G01747204Courtesy of GENERAL MOTORS CORP.
  4. Install the master cylinder to the brake booster.
  5. Install the master cylinder mount nuts (1).

    Tighten 

    Tighten the 2 nuts to 25 N.m (18 lb ft).

  6. Connect the pump motor connector to the bottom of the EBCM.
    Fig 2: Installing Master Cylinder Mount Nuts
    G01747205Courtesy of GENERAL MOTORS CORP.
  7. Connect the EBCM harness connector and depress the locking tab (1) to secure.
  8. Install the air cleaner housing.
  9. Turn the ignition switch to the RUN position, do not start engine.
  10. Perform the Diagnostic System Check - ABS 
    Fig 3: Depressing Locking Tab To Secure EBCM Harness Connector
    G01747206Courtesy of GENERAL MOTORS CORP.