LEMON Manuals: Even more car manuals for everyone: 1960-2025
Home >> Pontiac >> 2002 >> Aztek FWD >> Repair and Diagnosis >> External Pages >> Different car >> Section 1018 (Cellular Communication System) >> Component Locator >> Cellular Communication Component Views
April 5, 2026: LEMON Manuals is launched! Read the announcement.

Cellular Communication Component Views

WARNING: This page is about a different car, the 2004 Pontiac Aztek and 2004 Buick Rendezvous. However, it is still accessible from the selected car via links, so may be relevant.
Fig 1: Passenger Side of I/P Location View
GM1219395Courtesy of GENERAL MOTORS CORP.
Callout Component Name
1 Vehicle Communication Interface Module (VCIM)
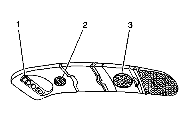
Fig 2: Overhead Console Location View
GM760729Courtesy of GENERAL MOTORS CORP.
Callout Component Name
1 OnStar Button Assembly
2 OnStar Microphone
3 Garage Door Opener