LEMON Manuals: Even more car manuals for everyone: 1960-2025
Home >> Pontiac >> 2002 >> Grand AM L4-2.2L VIN F >> Repair and Diagnosis >> Specifications >> Mechanical Specifications >> Engine >> Cylinder Block Assembly >> System Specifications >> Thread Repair Specifications >> Lower Crankcase-Bottom View
April 5, 2026: LEMON Manuals is launched! Read the announcement.

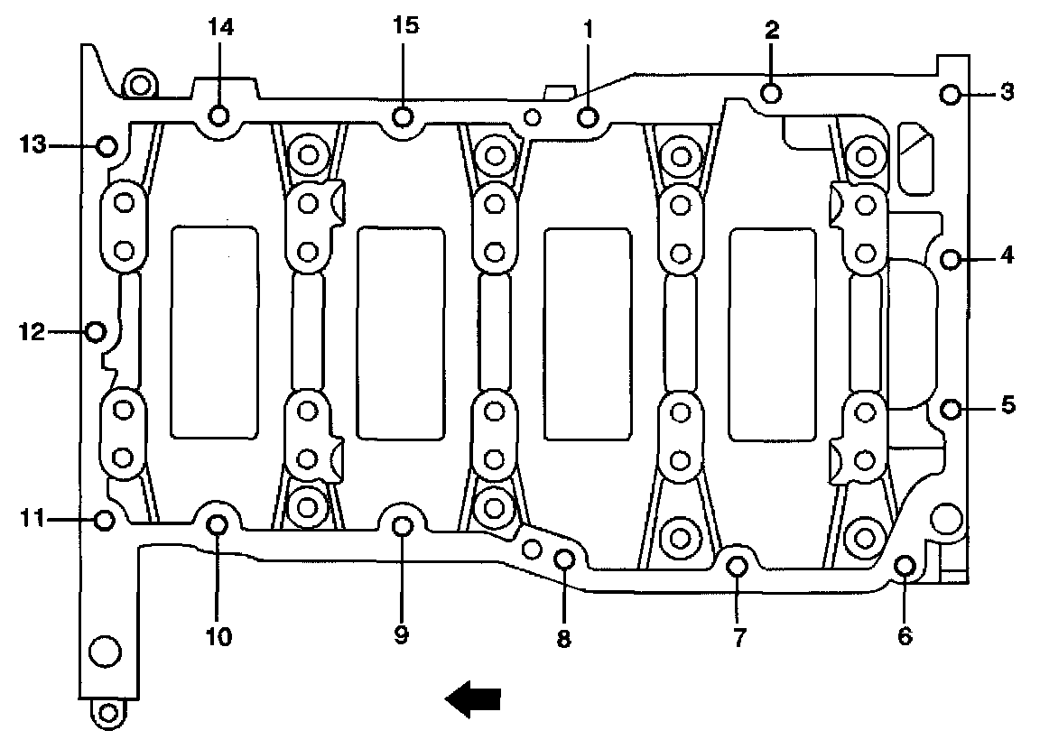
Lower Crankcase-Bottom View

Lower Crankcase-Bottom View





Part 1 of 2





Part 2 of 2