LEMON Manuals: Even more car manuals for everyone: 1960-2025
Home >> Pontiac >> 2003 >> Aztek FWD >> Repair and Diagnosis >> Electrical >> Body Electrical >> OEM Connector End Views >> Connector End Views >> Driver-Side Air Bag Module Connector End View
April 5, 2026: LEMON Manuals is launched! Read the announcement.

Driver-Side Air Bag Module Connector End View

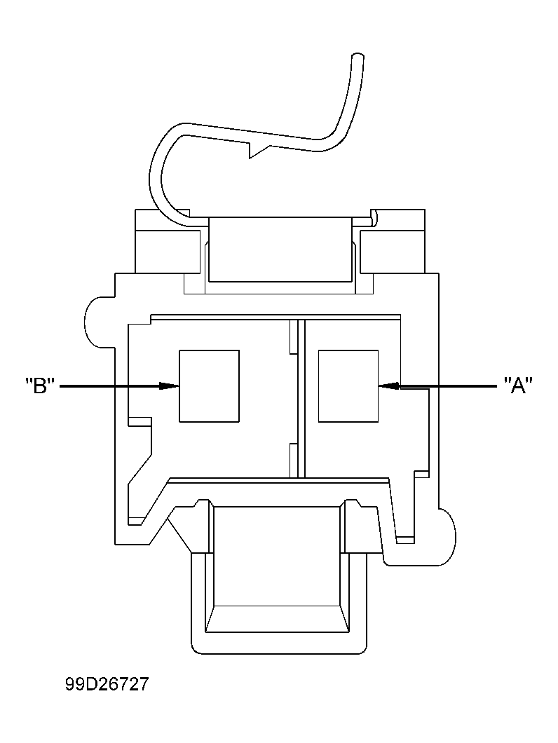
Fig 1: Driver-Side Air Bag Module
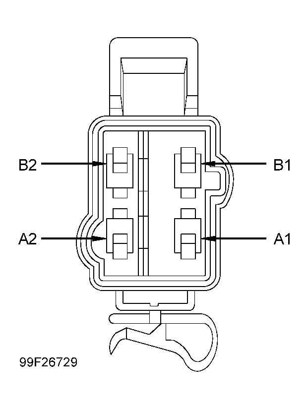
G99F26729Courtesy of GENERAL MOTORS CORP.


Fig 1: Driver-Side Air Bag Module
G99D26727Courtesy of GENERAL MOTORS CORP.