LEMON Manuals: Even more car manuals for everyone: 1960-2025
Home >> Pontiac >> 2004 >> Aztek Base, AWD >> Repair and Diagnosis >> Electrical >> Body Electrical >> OEM Connector End Views >> Connector End Views >> Sunload Sensor Connector End View
April 5, 2026: LEMON Manuals is launched! Read the announcement.

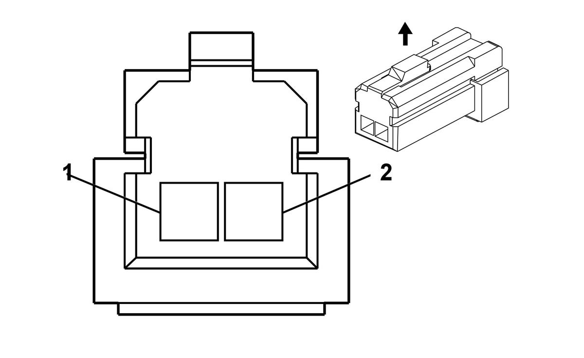
Sunload Sensor Connector End View

Sunload Sensor Connector End View

GM821858Courtesy of GENERAL MOTORS CORP.
Connector Part Information
  • 15316639
  • 2-Way F (BLK)
Pin Wire Color Circuit No. Function
1 LT BLU/BLK 590 Sunload Sensor Signal
2 BLK 552 Low Reference