LEMON Manuals: Even more car manuals for everyone: 1960-2025
Home >> Pontiac >> 2004 >> Aztek Base, AWD >> Repair and Diagnosis >> External Pages >> Different car >> Section 194 (Cruise Control System) >> Repair Instructions >> Cruise Control Module Replacement >> Installation Procedure
April 5, 2026: LEMON Manuals is launched! Read the announcement.

Installation Procedure

WARNING: This page is about a different car, the 2004 Chevrolet Monte Carlo and 2004 Chevrolet Impala. However, it is still accessible from the selected car via links, so may be relevant.
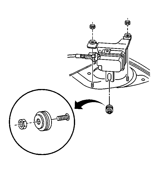
  1. Install the cruise control module on the mounting studs located on the shock tower.
  2. NOTE: Refer to Fastener Notice in Cautions and Notices.
  3. Install the cruise control module mounting nuts.

    Tighten:  Tighten the cruise control module to shock tower nuts to 2 N.m (18 lb in).

  4. Fig 1: Cruise Control Module & Shock Tower Nuts
    GM301676Courtesy of GENERAL MOTORS CORP.
  5. Connect the cruise control module electrical connector.
  6. IMPORTANT: The cruise control cable does not require mechanical adjusting after the replacement. The cruise control module internally adjusts the cable.
  7. Install the cruise control cable to the cruise control module. Refer to Cruise Control Cable Replacement (3.4L) Cruise Control Cable Replacement (3.8L) .
  8. Fig 2: Cruise Control Module & Cable
    GM301671Courtesy of GENERAL MOTORS CORP.