LEMON Manuals: Even more car manuals for everyone: 1960-2025
Home >> Pontiac >> 2004 >> Aztek Base, AWD >> Repair and Diagnosis >> External Pages >> Different car >> Section 261 (Lighting Systems) >> Component Locator >> Lighting Systems Connector End Views
April 5, 2026: LEMON Manuals is launched! Read the announcement.

Lighting Systems Connector End Views

WARNING: This page is about a different car, the 2004 Pontiac Grand Prix. However, it is still accessible from the selected car via links, so may be relevant.
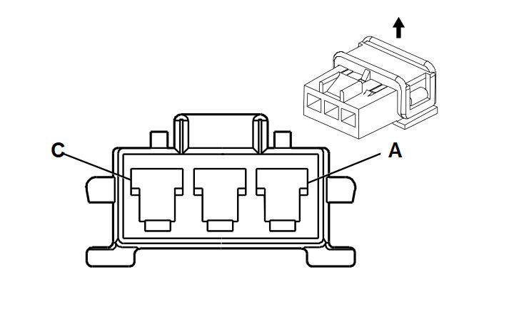
Ambient Light Terminal Identification Sensor

GM130637Courtesy of GENERAL MOTORS CORP.
Connector Part Information
  • 12064760
  • 4-Way F Metri-Pack 150 Series (BK)
Pin Wire Color Circuit Number Function
A-B - - Not Used
C BK/WH 1551 Ground
D L-GN/BK 1137 DRL Ambient Light Sensor Signal
Backup Terminal Identification Lamp - Left

GM744054Courtesy of GENERAL MOTORS CORP.
Connector Part Information
  • 15326291
  • 3-Way F Lamp Socket Wedge Base W3 Sealed Right Angle (WH)
Pin Wire Color Circuit Number Function
A D-GN 24 Backup Lamp Supply Voltage
B - - Not Used
G BK 750 Ground
Backup Terminal Identification Lamp - Right

GM744054Courtesy of GENERAL MOTORS CORP.
Connector Part Information
  • 15326291
  • 3-Way F Lamp Socket Wedge Base W3 Sealed Right Angle (WH)
Pin Wire Color Circuit Number Function
A D-GN 24 Backup Lamp Supply Voltage
D-GN 24 Backup Lamp Supply Voltage
B - - Not Used
G BK 750 Ground
BK 750 Ground
Brake Pedal Position Terminal Identification Sensor

GM1243663Courtesy of GENERAL MOTORS CORP.
Connector Part Information
  • 15332132
  • 3-Way F 150 GT Series (BK)
Pin Wire Color Circuit Number Function
A GY 598 10 Volt Reference
B L-GN 526 Stop Lamp Switch Signal
C BK 552 Low Reference
Center High Mounted Terminal Identification Stop Lamp - (CHMSL)

GM287973Courtesy of GENERAL MOTORS CORP.
Connector Part Information
  • 12047782
  • 3-Way M Metri-Pack 150 Series (BK)
Pin Wire Color Circuit Number Function
A WH 17 Stop Lamp Switch Signal
B - - Not Used
C BK 750 Ground
Courtesy/Reading Terminal Identification Lamp - Front (TR9, CF5)

GM808704Courtesy of GENERAL MOTORS CORP.
Connector Part Information
  • 12020397
  • 3-Way Metri-Pack 280 Series (BK)
Pin Wire Color Circuit Number Function
A OG 1732 Inadvertent Power Courtesy Lamp
B BK 750 Ground
C GY/BK 690 Courtesy Lamp Supply Voltage
Courtesy/Reading Terminal Identification Lamp - Left

GM333035Courtesy of GENERAL MOTORS CORP.
Connector Part Information
  • 12047781
  • 3-Way F Metri-Pack 150 Series (BK)
Pin Wire Color Circuit Number Function
A OG 1732 Inadvertent Power Courtesy Lamp (TR9, CF5)
B BK 750 Ground
C GY/BK 690 Courtesy Lamp Supply Voltage
Courtesy/Reading Terminal Identification Lamp - Right

GM333035Courtesy of GENERAL MOTORS CORP.
Connector Part Information
  • 12047781
  • 3-Way F Metri-Pack 150 Series (BK)
Pin Wire Color Circuit Number Function
A OG 1732 Inadvertent Power Courtesy Lamp (TR9, CF5)
B BK 750 Ground
C GY/BK 690 Courtesy Lamp Supply Voltage
Fog Terminal Identification Lamp - LF

GM808661Courtesy of GENERAL MOTORS CORP.
Connector Part Information
  • 12124819
  • 2-Way F Metri-Pack 280 Series, Sealed (BK)
Pin Wire Color Circuit Number Function
A PU 34 Fog Lamps Supply Voltage
B BK 1350 Ground
Fog Terminal Identification Lamp - RF

GM808661Courtesy of GENERAL MOTORS CORP.
Connector Part Information
  • 12124819
  • 2-Way F Metri-Pack 280 Series, Sealed (BK)
Pin Wire Color Circuit Number Function
A PU 34 Fog Lamps Supply Voltage
B BK 1250 Ground
Headlamp - Terminal Identification High Beam - Left

GM684797Courtesy of GENERAL MOTORS CORP.
Connector Part Information
  • 12059183
  • 2-Way F Metri-Pack 280 Series, Sealed (BK)
Pin Wire Color Circuit Number Function
A D-GN 711 Left Headlamp High Beam Supply Voltage
B BK 1350 Ground
Headlamp - Terminal Identification High Beam - Right

GM684797Courtesy of GENERAL MOTORS CORP.
Connector Part Information
  • 12059183
  • 2-Way F Metri-Pack 280 Series, Sealed (BK)
Pin Wire Color Circuit Number Function
A D-GN 311 Right Headlamp High Beam Supply Voltage
B BK 1250 Ground
Headlamp Terminal Identification Low Beam - Left

GM684796Courtesy of GENERAL MOTORS CORP.
Connector Part Information
  • 12059181
  • 2-Way F Metri-Pack 280 Series, Sealed (GY)
Pin Wire Color Circuit Number Function
A YE 712 Left Headlamp Low Beam Supply Voltage
B BK 1350 Ground
Headlamp Terminal Identification Low Beam - Right

GM684796Courtesy of GENERAL MOTORS CORP.
Connector Part Information
  • 12059181
  • 2-Way F Metri-Pack 280 Series, Sealed (GY)
Pin Wire Color Circuit Number Function
A YE 312 Right Headlamp Low Beam Supply Voltage
B BK 1250 Ground
Interior Terminal Identification Lamp Switch

GM280764Courtesy of GENERAL MOTORS CORP.
Connector Part Information
  • 12064993
  • 6-Way F Micro-Pack 100 Series (BK)
Pin Wire Color Circuit Number Function
5 RD/WH 812 I/P Dimming Voltage Reference
6-7 - - Not Used
8 PK 1444 I/P Dimming Control
9 PK/BK 1597 Courtesy Lamps Switch On Signal
10 BN/WH 230 I/P Dimming Return
I/P Compartment Terminal Identification Lamp and Switch

GM82383Courtesy of GENERAL MOTORS CORP.
Connector Part Information
  • 12047662
  • 2-Way F Metri-Pack 150 Series (BK)
Pin Wire Color Circuit Number Function
A OG 1732 Inadvertent Power Courtesy lamp
B BK 150 Ground
I/P Courtesy Terminal Identification Lamp - Left

GM365949Courtesy of GENERAL MOTORS CORP.
Connector Part Information
  • 12084388
  • 2-Way F Bulb Base Type W-2, Axial (BK)
Pin Wire Color Circuit Number Function
A GY/BK 690 Courtesy Lamp Supply Voltage
B BK 150 Ground
I/P Courtesy Terminal Identification Lamp - Right

GM365949Courtesy of GENERAL MOTORS CORP.
Connector Part Information
  • 12084388
  • 2-Way F Bulb Base Type W-2, Axial (BK)
Pin Wire Color Circuit Number Function
A GY/BK 690 Courtesy Lamp Supply Voltage
B BK 150 Ground
License Terminal Identification Lamp - Left

GM287969Courtesy of GENERAL MOTORS CORP.
Connector Part Information
  • 12162084
  • 2-Way F Lamp Socket Components, Bulb Bases, Type W-2, Axial (GY)
Pin Wire Color Circuit Number Function
A BN 9 Park Lamp Supply Voltage
B BK 750 Ground
BK 750 Ground
License Terminal Identification Lamp - Right

GM287969Courtesy of GENERAL MOTORS CORP.
Connector Part Information
  • 12162084
  • 2-Way F Lamp Socket Components, Bulb Bases, Type W-2, Axial (GY)
Pin Wire Color Circuit Number Function
A BN 9 Park Lamp Supply Voltage
BN 9 Park Lamp Supply Voltage
B BK 750 Ground
BK 750 Ground
Marker Terminal Identification Lamp - LF

GM130733Courtesy of GENERAL MOTORS CORP.
Connector Part Information
  • 12146418
  • 2-Way F Lamp Socket (GY)
Pin Wire Color Circuit Number Function
A BN 9 Park Lamp Supply Voltage
B BK 1350 Ground
BK 1350 Ground
Marker Terminal Identification Lamp - LR

GM1199757Courtesy of GENERAL MOTORS CORP.
Connector Part Information
  • 15317651
  • 2-Way F Lamp Socket Bulb Base Type W-2, Axial (GY)
Pin Wire Color Circuit Number Function
A BN 9 Park Lamp Supply Voltage
B BK 550 Ground
Marker Terminal Identification Lamp - RF

GM130733Courtesy of GENERAL MOTORS CORP.
Connector Part Information
  • 12146418
  • 2-Way F Lamp Socket (GY)
Pin Wire Color Circuit Number Function
A BN 9 Park Lamp Supply Voltage
B BK 1250 Ground
BK 1250 Ground
Marker Terminal Identification Lamp - RR

GM1199757Courtesy of GENERAL MOTORS CORP.
Connector Part Information
  • 15317651
  • 2-Way F Lamp Socket Bulb Base Type W-2, Axial (GY)
Pin Wire Color Circuit Number Function
A BN 9 Park Lamp Supply Voltage
B BK 750 Ground
Multifunction Terminal Identification Turn Signal Lever, C1

GM39746Courtesy of GENERAL MOTORS CORP.
Connector Part Information
  • 12064862
  • 8-Way F Metri-Pack 150 Series (BK)
Pin Wire Color Circuit Number Function
A BK/WH 1551 Ground
B D-BU/WH 1415 Right Turn Signal Switch Signal
C L-BU/WH 1414 Left Turn Signal Switch Signal
D-F - - Not Used
G BN 738 Horn Switch Signal
H TN 2144 Hazard Switch Signal
Multifunction Terminal Identification Turn Signal Lever, C2

GM811190Courtesy of GENERAL MOTORS CORP.
Connector Part Information
  • 15339058
  • 7-Way F Metri-Pack 150 Series (GY)
Pin Wire Color Circuit Number Function
G-H - - Not Used
J OG 192 Front Fog Lamp Switch Signal
K BK/WH 1551 Ground
L WH 103 Headlamp Switch Headlamps On Signal
M BN/WH 301 Park Lamp Switch On Signal
N L-BU 1872 Exterior Lamps Off Input
Multifunction Terminal Identification Turn Signal Lever, C3

GM130718Courtesy of GENERAL MOTORS CORP.
Connector Part Information
  • 12059800
  • 5-Way F Metri-Pack 150 Series (BK)
Pin Wire Color Circuit Number Function
A BN 1356 Flash To Pass Switch Signal
B-C - - Not Used
D BK/WH 1551 Ground
E PU 524 Headlamp Dimmer Switch High Beam Signal
Park/Turn Terminal Identification Signal Lamp - LF

GM95769Courtesy of GENERAL MOTORS CORP.
Connector Part Information
  • 15354865
  • 3-Way F Lamp Socket Wedge Base Right Angle (BK)
Pin Wire Color Circuit Number Function
A L-BU 1314 Left Front Turn Signal Lamp Supply Voltage
B BN 9 Park Lamp Supply Voltage
G BK 1350 Ground
BK 1350 Ground
Park/Turn Terminal Identification Signal Lamp - RF

GM95769Courtesy of GENERAL MOTORS CORP.
Connector Part Information
  • 15354865
  • 3-Way F Lamp Socket Wedge Base Right Angle (BK)
Pin Wire Color Circuit Number Function
A L-BU 1315 Right Front Turn Signal Lamp Supply Voltage
B BN 9 Park Lamp Supply Voltage
G BK 1250 Ground
BK 1250 Ground
PRNDL Terminal Identification Lamp

GM810080Courtesy of GENERAL MOTORS CORP.
Connector Part Information
  • 12162083
  • 2-Way F Lamp Socket Bulb Base Type W-2 Axial (BK)
Pin Wire Color Circuit Number Function
A GY 8 Instrument Panel Lamp Supply Voltage
B BK 150 Ground
BK 150 Ground
Rear Compartment Terminal Identification Courtesy Lamp

GM82383Courtesy of GENERAL MOTORS CORP.
Connector Part Information
  • 12047662
  • 2-Way F Metri-Pack 150 Series (BK)
Pin Wire Color Circuit Number Function
A OG 1732 Inadvertent Power Courtesy Lamp
B OG/BK 737 Rear Compartment Lamp Control
Tail Terminal Identification Lamp - Left

GM744054Courtesy of GENERAL MOTORS CORP.
Connector Part Information
  • 15326291
  • 3-Way F Lamp Socket Wedge Base W3 Sealed Right Angle (GY)
Pin Wire Color Circuit Number Function
A BN 9 Park Lamp Supply Voltage
BN 9 Park Lamp Supply Voltage
B - - Not Used
G BK 550 Ground
BK 550 Ground
Tail Terminal Identification Lamp - Right

GM744054Courtesy of GENERAL MOTORS CORP.
Connector Part Information
  • 15326291
  • 3-Way F Lamp Socket Wedge Base W3 Sealed Right Angle (GY)
Pin Wire Color Circuit Number Function
A BN 9 Park Lamp Supply Voltage
BN 9 Park Lamp Supply Voltage
B - - Not Used
G BK 750 Ground
BK 750 Ground
Tail/Stop and Turn Signal Terminal Identification Lamp - Left

GM38605Courtesy of GENERAL MOTORS CORP.
Connector Part Information
  • 12160394
  • 3-Way F Lamp Socket Wedge Base W3 Right Angle (L-GY)
Pin Wire Color Circuit Number Function
A YE 18 Left Rear Stop/Turn Lamp Supply Voltage
B BN 9 Park Lamp Supply Voltage
BN 9 Park Lamp Supply Voltage
G BK 550 Ground
BK 550 Ground
Tail/Stop and Turn Signal Terminal Identification Lamp - Right

GM38605Courtesy of GENERAL MOTORS CORP.
Connector Part Information
  • 12160394
  • 3-Way F Lamp Socket Wedge Base W3 Right Angle (L-GY)
Pin Wire Color Circuit Number Function
A YE 19 Left Rear Stop/Turn Lamp Supply Voltage
B BN 9 Park Lamp Supply Voltage
BN 9 Park Lamp Supply Voltage
G BK 750 Ground
BK 750 Ground
Vanity Mirror Terminal Identification Lamp - Left (CF5)

GM35441Courtesy of GENERAL MOTORS CORP.
Connector Part Information
  • 12047663
  • 2-Way M Metri-Pack 150 Series (BK)
Pin Wire Color Circuit Number Function
A OG 1732 Inadvertent Power Courtesy Lamp
B BK 750 Ground
Vanity Mirror Terminal Identification Lamp - Left (TR9)

GM82383Courtesy of GENERAL MOTORS CORP.
Connector Part Information
  • 12047662
  • 2-Way F Metri-Pack 150 Series (BK)
Pin Wire Color Circuit Number Function
A OG 1732 Inadvertent Power Courtesy Lamp
B BK 750 Ground
Vanity Mirror Terminal Identification Lamp - Right (CF5)

GM35441Courtesy of GENERAL MOTORS CORP.
Connector Part Information
  • 12047663
  • 2-Way M Metri-Pack 150 Series (BK)
Pin Wire Color Circuit Number Function
A OG 1732 Inadvertent Power Courtesy Lamp
B BK 750 Ground
Vanity Mirror Terminal Identification Lamp - Right (TR9)

GM82383Courtesy of GENERAL MOTORS CORP.
Connector Part Information
  • 12047662
  • 2-Way F Metri-Pack 150 Series (BK)
Pin Wire Color Circuit Number Function
A OG 1732 Inadvertent Power Courtesy Lamp
B BK 750 Ground