LEMON Manuals: Even more car manuals for everyone: 1960-2025
Home >> Pontiac >> 2004 >> Aztek Base, AWD >> Repair and Diagnosis >> External Pages >> Different car >> Section 331 (Lighting Systems) >> Component Locator >> Lighting Systems Connector End Views
April 5, 2026: LEMON Manuals is launched! Read the announcement.

Lighting Systems Connector End Views

WARNING: This page is about a different car, the 2004 Chevrolet Corvette. However, it is still accessible from the selected car via links, so may be relevant.
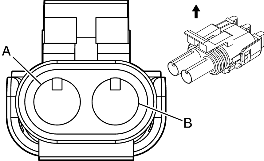
Ambient Light Sensor Terminal Identification

GM82383Courtesy of GENERAL MOTORS CORP.
Connector Part Information
  • 12047662
  • 2-Way F Metri-Pack 150 Series (BLK)
Pin Wire Color Circuit No. Function
A YEL/BLK 1138 DRL Ambient Light Sensor Low Reference
B LT GRN/BLK 1137 DRL Ambient Light Sensor Signal
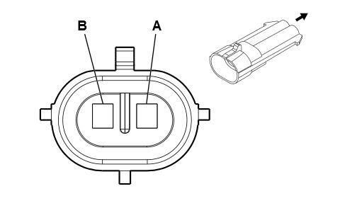
Backup Lamp Switch Terminal Identification

GM516604Courtesy of GENERAL MOTORS CORP.
Connector Part Information
  • 12103584
  • 2-Way M Weather Pack (BRN)
Pin Wire Color Circuit No. Function
A BRN 341 Ignition 3 Voltage
B GRY 1524 Backup Lamp Relay Control
Backup Lamp Terminal Identification - Left (Domestic/Japan)

GM517809Courtesy of GENERAL MOTORS CORP.
Connector Part Information
  • R12160391
  • 3-Way Lamp Socket Bulb Bases Type C-2 (MD GRY)
Pin Wire Color Circuit No. Function
A LT GRN 24 Backup Lamp Supply Voltage
B - - Not Used
G BLK 150 Ground
Backup Lamp Terminal Identification - Left (Europe)

GM62479Courtesy of GENERAL MOTORS CORP.
Connector Part Information
  • R12160385
  • 2-Way Lamp Socket Type B1 Right Angle (LT GRY)
Pin Wire Color Circuit No. Function
A LT GRN 24 Backup Lamp Supply Voltage
G BLK 150 Ground
Backup Lamp Terminal Identification - Right (Domestic/Japan)

GM517809Courtesy of GENERAL MOTORS CORP.
Connector Part Information
  • R12160391
  • 3-Way Lamp Socket Bulb Bases Type C-2 (MD GRY)
Pin Wire Color Circuit No. Function
A LT GRN 24 Backup Lamp Supply Voltage
B - - Not Used
G BLK 150 Ground
Backup Lamp Terminal Identification - Right (Europe)

GM62479Courtesy of GENERAL MOTORS CORP.
Connector Part Information
  • R12160385
  • 2-Way Lamp Socket Type B1 Right Angle (LT GRY)
Pin Wire Color Circuit No. Function
A LT GRN 24 Backup Lamp Supply Voltage
G BLK 150 Ground
Center High Mounted Stop Lamp Terminal Identification (CHMSL)

GM655692Courtesy of GENERAL MOTORS CORP.
Connector Part Information
  • 12162192
  • 2-Way F Metri Pack 150.2 Series (BLK)
Pin Wire Color Circuit No. Function
A YEL 820 CHMSL Supply Voltage
B BLK 150 Ground
Fog Lamp/Rear Compartment Lid Release Switch Terminal Identification (Domestic)

GM280793Courtesy of GENERAL MOTORS CORP.
Connector Part Information
  • 12052444
  • 8-Way F Micro-Pack 100 Series (BLK)
Pin Wire Color Circuit No. Function
1 ORN 2840 Battery Positive Voltage
2 ORN/BLK 192 Front Fog Lamp Switch Signal
3 YEL 183 Front Fog Lamp Indicator Control
4 - - Not Used
5 PPL 34 Fog Lamps Supply Voltage
6 BLK 1576 Trunk Release Switch Signal
7 BRN 9 Park Lamp Supply Voltage
8 WHT 717 Illuminated Display Signal
Fog Lamp Switch Terminal Identification (Export)

GM280793Courtesy of GENERAL MOTORS CORP.
Connector Part Information
  • 12052444
  • 8-Way F Micro-Pack 100 Series (BLK)
Pin Wire Color Circuit No. Function
1 ORN 2840 Battery Positive Voltage
2 ORN/BLK 192 Front Fog Lamp Switch Signal
3 YEL 183 Front Fog Lamp Indicator Control
4 RED 122 Rear Fog Lamp Supply Voltage
5 PPL 34 Fog Lamps Supply Voltage
6 LT BLU 187 Rear Fog Lamp Switch Signal
7 BRN 9 Park Lamp Supply Voltage
8 WHT 717 Illuminated Display Signal
Fog Lamp Terminal Identification - LF (Domestic)

GM646148Courtesy of GENERAL MOTORS CORP.
Connector Part Information
  • 12020599
  • 2-Way F Metri-Pack 280 Series (BLK)
Pin Wire Color Circuit No. Function
A PPL 34 Fog Lamps Supply Voltage
B BLK 150 Ground
Fog Lamp Terminal Identification - LF (Export)

GM333041Courtesy of GENERAL MOTORS CORP.
Connector Part Information
  • 12162000
  • 2-Way M Metri-Pack 150 Series (BLK)
Pin Wire Color Circuit No. Function
A PPL 34 Fog Lamps Supply Voltage
B BLK 150 Ground
Fog Lamp Terminal Identification - RF (Domestic)

GM646148Courtesy of GENERAL MOTORS CORP.
Connector Part Information
  • 12020599
  • 2-Way F Metri-Pack 280 Series (BLK)
Pin Wire Color Circuit No. Function
A PPL 34 Fog Lamp Supply Voltage
B BLK 150 Ground
Fog Lamp Terminal Identification - RF (Export)

GM333041Courtesy of GENERAL MOTORS CORP.
Connector Part Information
  • 12162000
  • 2-Way M Metri-Pack 150 Series (BLK)
Pin Wire Color Circuit No. Function
A PPL 34 Fog Lamp Supply Voltage
B BLK 150 Ground
Fog Lamp Terminal Identification - LR (Europe)

GM62479Courtesy of GENERAL MOTORS CORP.
Connector Part Information
  • R12160385
  • 2-Way Lamp Socket Type B-1 Right Angle (LT GRY)
Pin Wire Color Circuit No. Function
A RED 122 Rear Fog Lamp Supply Voltage
G BLK 150 Ground
Fog LampTerminal Identification - RR (Europe)

GM62479Courtesy of GENERAL MOTORS CORP.
Connector Part Information
  • R12160385
  • 2-Way Lamp Socket Type B-1 Right Angle (LT GRY)
Pin Wire Color Circuit No. Function
A RED 122 Fog Lamp Feed-Rear
G BLK 150 Ground
Footwell Courtesy Lamp Terminal Identification - Left

GM154339Courtesy of GENERAL MOTORS CORP.
Connector Part Information
  • 12162223
  • 2-Way Lamp Socket Bulb Bases-Type W-2 (CLR)
Pin Wire Color Circuit No. Function
A
-
ORN 740 Battery Positive Voltage
B BLK 150 Ground
Footwell Courtesy Lamp Terminal Identification - Right

GM154339Courtesy of GENERAL MOTORS CORP.
Connector Part Information
  • 12162223
  • 2-Way Lamp Socket Bulb Bases-Type W-2 (CLR)
Pin Wire Color Circuit No. Function
A
-
ORN 740 Battery Positive Voltage
B BLK 150 Ground
Hazard Switch Terminal Identification

GM62464Courtesy of GENERAL MOTORS CORP.
Connector Part Information
  • 12064769
  • 10-Way F Metri-Pack 150 Series (NAT)
Pin Wire Color Circuit No. Function
A BLK 150 Ground
B ORN 140 Battery Positive Voltage
C PNK 1739 Ignition 1 Voltage
D - - Not Used
E GRY/BLK 1458 Instrument Panel Lamp Supply Voltage - 4
F LT BLU 14 Left Turn Signal Status Signal
G DK BLU 15 Right Turn Signal Status Signal
H PPL 16 Turn Signal Flasher Signal
J BRN 27 Hazard Flasher Signal
K WHT 17 Stop Lamp Switch Signal (Domestic)
Headlamp Door Assembly Terminal Identification - Left

GM243503Courtesy of GENERAL MOTORS CORP.
Connector Part Information
  • 12084890
  • 5-Way F Metri-Pack 280 Series (MD GRY)
Pin Wire Color Circuit No. Function
A DK GRN 577 Left Headlamp Door Motor Down
B LT GRN 576 Left Headlamp Door Motor Up
C YEL 712 Left Headlamp Low Beam Supply Voltage
D DK GRN/WHT 711 Left Headlamp High Beam Supply Voltage
E BLK 150 Ground
Headlamp Door Assembly Terminal Identification - Right

GM243503Courtesy of GENERAL MOTORS CORP.
Connector Part Information
  • 12084890
  • 5-Way F Metri-Pack 280 Series (MD GRY)
Pin Wire Color Circuit No. Function
A DK BLU 579 Right Headlamp Door Motor Down
B LT BLU 578 Right Headlamp Door Motor Up
C TAN/WHT 312 Right Headlamp Low Beam Supply Voltage
D LT GRN/BLK 311 Right Headlamp High Beam Supply Voltage
E BLK 150 Ground
Headlamp Door Control Module Terminal Identification - C1

GM154333Courtesy of GENERAL MOTORS CORP.
Connector Part Information
  • 15300011
  • 5-Way F Metri-Pack 280 Series (BLK)
Pin Wire Color Circuit No. Function
A WHT 103 Headlamp Switch Headlamps On Signal
B ORN 2940 Battery Positive Voltage
C DK GRN 306 Headlamp Switch Headlamps Off Signal
D BLK 150 Ground
E ORN 3040 Battery Positive Voltage
Headlamp Door Control Module Terminal Identification - C2

GM154332Courtesy of GENERAL MOTORS CORP.
Connector Part Information
  • 15300010
  • 4-Way F Metri-Pack 280 Series (BLK)
Pin Wire Color Circuit No. Function
A LT GRN 576 Left Headlamp Door Motor Up
B DK GRN 577 Left Headlamp Door Motor Down
C DK BLU 579 Right Headlamp Door Motor Down
D LT BLU 578 Right Headlamp Door Motor Up
IP Compartment Lamp Terminal Identification

GM82383Courtesy of GENERAL MOTORS CORP.
Connector Part Information
  • 12047662
  • 2-Way F Metri-Pack 150 Series (BLK)
Pin Wire Color Circuit No. Function
A ORN 640 Battery Positive Voltage
B BLK 150 Ground
License Lamp Terminal Identification - Left

GM287977Courtesy of GENERAL MOTORS CORP.
Connector Part Information
  • 12146595
  • 2-Way Lamp Socket Bulb Bases Type W-2 (LT GRY)
Pin Wire Color Circuit No. Function
A BRN 9 Park Lamp Supply Voltage
B BLK 150 Ground
License Lamp Terminal Identification - Right

GM287977Courtesy of GENERAL MOTORS CORP.
Connector Part Information
  • 12146595
  • 2-Way Lamp Socket Bulb Bases Type W-2 (LT GRY)
Pin Wire Color Circuit No. Function
A BRN 9 Park Lamp Supply Voltage
B BLK 150 Ground
Marker Lamp Terminal Identification - LF

GM287977Courtesy of GENERAL MOTORS CORP.
Connector Part Information
  • 12146595
  • 2-Way Lamp Socket Bulb Bases Type W-2 (LT GRY)
Pin Wire Color Circuit No. Function
A BRN 9 Park Lamp Supply Voltage
B BLK 150 Ground
Marker Lamp Terminal Identification - LR

GM287977Courtesy of GENERAL MOTORS CORP.
Connector Part Information
  • 12146595
  • 2-Way Lamp Socket Bulb Bases W-2 (LT GRY)
Pin Wire Color Circuit No. Function
A BRN 9 Park Lamp Supply Voltage
B BLK 150 Ground
Marker Lamp Terminal Identification - RF

GM287977Courtesy of GENERAL MOTORS CORP.
Connector Part Information
  • 12146595
  • 2-Way Lamp Socket Bulb Bases Type W-2 (LT GRY)
Pin Wire Color Circuit No. Function
A BRN 9 Park Lamp Supply Voltage
B BLK 150 Ground
Marker Lamp Terminal Identification - RR

GM287977Courtesy of GENERAL MOTORS CORP.
Connector Part Information
  • 12146595
  • 2-Way Lamp Socket Bulb Bases W-2 (LT GRY)
Pin Wire Color Circuit No. Function
A BRN 9 Park Lamp Supply Voltage
B BLK 150 Ground
Park Lamp Terminal Identification - LF (Export)

GM287977Courtesy of GENERAL MOTORS CORP.
Connector Part Information
  • 12146595
  • 2-Way Lamp Socket Bulb Bases Type W-2 (LT GRY)
Pin Wire Color Circuit No. Function
A BRN 9 Park Lamp Supply Voltage
B BLK 150 Ground
Park Lamp Terminal Identification - RF (Export)

GM287977Courtesy of GENERAL MOTORS CORP.
Connector Part Information
  • 12146595
  • 2-Way Lamp Socket Bulb Bases Type W-2 (LT GRY)
Pin Wire Color Circuit No. Function
A BRN 9 Park Lamp Supply Voltage
B BLK 150 Ground
Park/Turn Signal Lamp Terminal Identification - LF (Domestic)

GM38605Courtesy of GENERAL MOTORS CORP.
Connector Part Information
  • 12160394
  • 3-Way Lamp Socket Wedge Base W3 Right Angle (NAT)
Pin Wire Color Circuit No. Function
A LT BLU/WHT 1314 Left Front Turn Signal Lamp Supply Voltage
B BRN 9 Park Lamp Supply Voltage
G BLK 150 Ground
Park/Turn Signal Lamp Terminal Identification - RF (Domestic)

GM38605Courtesy of GENERAL MOTORS CORP.
Connector Part Information
  • 12160394
  • 3-Way Lamp Socket Wedge Base W3 Right Angle (NAT)
Pin Wire Color Circuit No. Function
A DK BLU/WHT 1315 Right Front Turn Signal Lamp Supply Voltage
B BRN 9 Park Lamp Supply Voltage
G BLK 150 Ground
Repeater Lamp Terminal Identification - Left (Export)

GM635009Courtesy of GENERAL MOTORS CORP.
Connector Part Information
  • 12052635
  • 2-Way F Metri-Pack 150 Series Sealed (BLK)
Pin Wire Color Circuit No. Function
A LT BLU/WHT 1314 Left Front Turn Signal Lamp Supply Voltage
B BLK 150 Ground
Repeater Lamp Terminal Identification - Right (Export)

GM635009Courtesy of GENERAL MOTORS CORP.
Connector Part Information
  • 12052635
  • 2-Way F Metri-Pack 150 Series Sealed (BLK)
Pin Wire Color Circuit No. Function
A DK BLU/WHT 1315 Right Front Turn Signal Lamp Supply Voltage
B BLK 150 Ground
Rear Compartment Courtesy Lamp Terminal Identification - Left

GM82383Courtesy of GENERAL MOTORS CORP.
Connector Part Information
  • 12047662
  • 2-Way F Metri-Pack 150 Series (BLK)
Pin Wire Color Circuit No. Function
A ORN 740 Battery Positive Voltage
B BLK 150 Ground
Rear Compartment Courtesy Lamp Terminal Identification - Right

GM82383Courtesy of GENERAL MOTORS CORP.
Connector Part Information
  • 12047662
  • 2-Way F Metri-Pack 150 Series (BLK)
Pin Wire Color Circuit No. Function
A ORN 740 Battery Positive Voltage
B BLK 150 Ground
Stop Lamp Switch Terminal Identification C1

GM130679Courtesy of GENERAL MOTORS CORP.
Connector Part Information
  • 12033704
  • 4-Way F Metri-Pack 280 Series (BLK)
Pin Wire Color Circuit No. Function
A PPL 420 TCC Brake Switch/Cruise Control Release Signal
B PNK 339 Ignition 1 Voltage
C GRY 847 Extended Travel Brake Switch Signal
D PNK 339 Ignition 1 Voltage
Stop Lamp Switch Terminal Identification C2

GM73251Courtesy of GENERAL MOTORS CORP.
Connector Part Information
  • 12033701
  • 2-Way F Metri-Pack 480 Series (GRY)
Pin Wire Color Circuit No. Function
A ORN 140 Battery Positive Voltage
B WHT 17 Stop Lamp Switch Signal (Domestic)
LT BLU 20 Stop Lamp Switch Signal
Stop Lamp Switch Terminal Identification C3

GM40397Courtesy of GENERAL MOTORS CORP.
Connector Part Information
  • 12033706
  • 4-Way F Metri-Pack 280 Series (BLU)
Pin Wire Color Circuit No. Function
A ORN/BLK 434 Neutral Safety Switch Signal
B DK GRN/WHT 1135 A/T Shift Lock Control Solenoid Supply Voltage
C-D - - Not Used
Tail/Stop Lamp Terminal Identification - Left (Export)

GM296872Courtesy of GENERAL MOTORS CORP.
Connector Part Information
  • R12160389
  • 3-Way Lamp Socket Bulb Bases Type C-2 (NAT)
Pin Wire Color Circuit No. Function
A YEL 820 CHMSL Supply Voltage
B BRN 9 Park Lamp Supply Voltage
G BLK 150 Ground
Tail/Stop Lamp Terminal Identification - Right (Export)

GM296872Courtesy of GENERAL MOTORS CORP.
Connector Part Information
  • 12160389
  • 3-Way Lamp Socket Bulb Bases Type C-2 (NAT)
Pin Wire Color Circuit No. Function
A YEL 820 CHMSL Supply Voltage
B BRN 9 Park Lamp Supply Voltage
G BLK 150 Ground
Tail/Stop and Turn Signal Lamp Terminal Identification - Left (Domestic)

GM38605Courtesy of GENERAL MOTORS CORP.
Connector Part Information
  • 12160394
  • 3-Way Lamp Socket Wedge Base W3 Right Angle (NAT)
Pin Wire Color Circuit No. Function
A YEL 18 Left Rear Stop/Turn Lamp Supply Voltage
B BRN 9 Park Lamp Supply Voltage
G BLK 150 Ground
Tail/Stop and Turn Signal Lamp Terminal Identification - Right (Domestic)

GM38605Courtesy of GENERAL MOTORS CORP.
Connector Part Information
  • 12160394
  • 3-Way Lamp Socket Wedge Base W3 Right Angle (NAT)
Pin Wire Color Circuit No. Function
A DK GRN 19 Right Rear Stop/Turn Lamp Supply Voltage
B BRN 9 Park Lamp Supply Voltage
G BLK 150 Ground
Turn Signal Lamp Terminal Identification - LF (Export)

GM62479Courtesy of GENERAL MOTORS CORP.
Connector Part Information
  • 12160388
  • 2-Way F Metri-Pack 150 Series Sealed (BLK)
Pin Wire Color Circuit No. Function
A LT BLU/WHT 1314 Left Front Turn Signal Lamp Supply Voltage
G BLK 150 Ground
Turn Signal Lamp Terminal Identification - RF (Export)

GM62479Courtesy of GENERAL MOTORS CORP.
Connector Part Information
  • 12160388
  • 2-Way Lamp Socket Type B1 Right Angle (BRN)
Pin Wire Color Circuit No. Function
A DK BLU/WHT 1315 Right Front Turn Signal Lamp Supply Voltage
G BLK 150 Ground
Turn Signal Lamp Terminal Identification - RR (Export)

GM62479Courtesy of GENERAL MOTORS CORP.
Connector Part Information
  • R12160385
  • 2-Way Lamp Socket Type B-1 Right Angle (LT GRY)
Pin Wire Color Circuit No. Function
A DK GRN 19 Right Rear Stop/Turn Lamp Supply Voltage
G BLK 150 Ground
Turn Signal Lamp Terminal Identification - LR (Export)

GM62479Courtesy of GENERAL MOTORS CORP.
Connector Part Information
  • R12160385
  • 2-Way Lamp Socket Type B1 Right Angle (LT GRY)
Pin Wire Color Circuit No. Function
A YEL 18 Left Rear Stop/Turn Lamp Supply Voltage
G BLK 150 Ground
Underhood Lamp Terminal Identification

GM655692Courtesy of GENERAL MOTORS CORP.
Connector Part Information
  • 12162192
  • 2-Way F Metri-Pack 150.2 Series (BLK)
Pin Wire Color Circuit No. Function
A BLK 40 Battery Positive Voltage
B BLK 150 Ground
Vanity Mirror Lamp Terminal Identification - Left

GM35441Courtesy of GENERAL MOTORS CORP.
Connector Part Information
  • 12047663
  • 2-Way M Metri-Pack 150 Series (BLK)
Pin Wire Color Circuit No. Function
A ORN 640 Battery Positive Voltage
B BLK 150 Ground
Vanity Mirror Lamp Terminal Identification - Right

GM35441Courtesy of GENERAL MOTORS CORP.
Connector Part Information
  • 12047663
  • 2-Way M Metri-Pack 150 Series (BLK)
Pin Wire Color Circuit No. Function
A ORN 640 Battery Positive Voltage
B BLK 150 Ground