LEMON Manuals: Even more car manuals for everyone: 1960-2025
Home >> Pontiac >> 2004 >> GTO Automatic >> Repair and Diagnosis >> Engine Performance >> System >> Engine Controls -- 5.7L -- (Introduction) >> Repair Instructions >> Powertrain Control Module (PCM) Replacement >> Removal Procedure
April 5, 2026: LEMON Manuals is launched! Read the announcement.

Removal Procedure

    IMPORTANT: It is necessary to record the remaining engine oil life. If the replacement module is not programed with the remaining engine oil life, the engine oil life will default to 100%. If the replacement module is not programmed with the remaining engine oil life, the engine oil will need to be changed at 5000 km (3,000 mi) from the last engine oil change.
  1. Using a scan tool, retrieve the percentage of remaining engine oil. Record the remaining engine oil life.
  2. Disconnect the negative battery cable. Refer to Battery Negative Cable Disconnect/Connect Procedure in Engine Electrical.
  3. Disconnect the engine coolant surge tank. Refer to Surge Tank Replacement in Engine Cooling.
  4. Remove the air cleaner assembly. Refer to Air Cleaner Assembly Replacement .
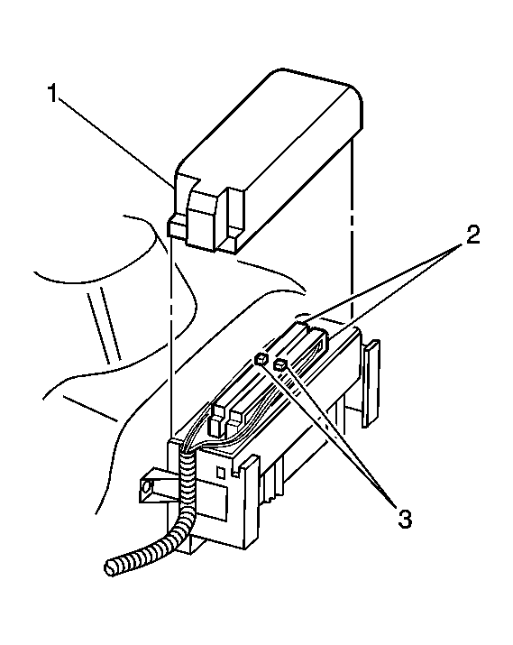
  5. Fig 1: View Of PCM Harness Connector & Cover
    GM1372110Courtesy of GENERAL MOTORS CORP.
  6. Remove PCM harness connector cover (1).
  7. Loosen the connector retaining screws at each PCM connector (2), then remove connectors from the PCM.
  8. Fig 2: View Of PCM
    GM1372107Courtesy of GENERAL MOTORS CORP.
  9. Remove the PCM (1) from the mounting bracket by levering back the bracket retainers at each end, while lifting up the PCM.