LEMON Manuals: Even more car manuals for everyone: 1960-2025
Home >> Pontiac >> 2004 >> GTO Standard >> Repair and Diagnosis >> Quick Lookups >> Wiring Diagrams >> OEM Connector End Views >> Connector End Views >> Seat Horizontal Position Sensor - Driver Connector End View
April 5, 2026: LEMON Manuals is launched! Read the announcement.

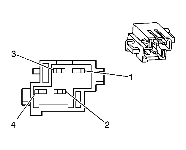
Seat Horizontal Position Sensor - Driver Connector End View

Seat Horizontal Position Sensor - Driver Connector End View

GM1356093Courtesy of GENERAL MOTORS CORP.
Connector Part Information
  • 365059-3
  • 4-Way Male (BK)
Pin Wire Color Circuit No. Function
1 BK/BN 3140 Battery Positive Voltage
2 - - Not Used
3 BK/BN 569 Horizontal Seat Motor Position Sensor Signal
4 - - Not Used