LEMON Manuals: Even more car manuals for everyone: 1960-2025
Home >> Pontiac >> 2004 >> Vibe GT >> Repair and Diagnosis >> Engine Performance >> System >> Engine Control System (Introduction) -- 1.8L (LNK) >> Component Locator >> Engine Controls Connector End Views
April 5, 2026: LEMON Manuals is launched! Read the announcement.

Engine Controls Connector End Views

Air Pump Motor Connector End Views

GM820254Courtesy of GENERAL MOTORS CORP.
Connector Part Information
  • 90980-10845
  • BLK
Pin Wire Color Function
A BLK/RED Supply Voltage
B WHT/BLK Ground
Air Pump Relay Connector End Views

GM741234Courtesy of GENERAL MOTORS CORP.
Connector Part Information
  • 90980-10845
  • BLK
Pin Wire Color Function
1 BLK/ORN Air Pump Relay Control
2 BLK Air Pump Relay Supply Voltage
3 BLK/RED Air Pump Motor Supply Voltage
4 BLK Air Pump Relay Supply Voltage
Air Pump Pressure Sensor Connector End Views

GM335016Courtesy of GENERAL MOTORS CORP.
Connector Part Information
  • 90980-10845
  • BLK
Pin Wire Color Function
1 BRN Ground
2 LT GRN Powertrain Control Module Signal
3 YEL 5 Volt Reference
Air Pump Solenoid Valve Connector End Views

GM339854Courtesy of GENERAL MOTORS CORP.
Connector Part Information
  • 90980-10572
  • BLU
Pin Wire Color Function
1 BLK Supply Voltage
2 BLK/BLU Powertrain Control Module Signal
Ambient Air Temperature Sensor Connector End Views

GM334404Courtesy of GENERAL MOTORS CORP.
Connector Part Information
  • 90980-11030
  • BLK
Pin Wire Color Function
1 BLK Ambient Air Temperature Sensor Input
2 BLK/BLU Ground
Back Up Lamp Switch Connector End Views

GM334404Courtesy of GENERAL MOTORS CORP.
Connector Part Information
  • 90980-11250
  • GRY
Pin Wire Color Function
1 RED/BLK Back Up Lamp Switch Signal Circuit
2 RED/WHT Back Up Lamp Switch Feed Circuit
Camshaft Position (CMP) Sensor Connector End Views

GM339853Courtesy of GENERAL MOTORS CORP.
Connector Part Information
  • 90980-10947
  • BLK
Pin Wire Color Function
1 BLK Camshaft Position Input
2 WHT Sensor Ground
Camshaft Position (CMP) Actuator Solenoid Valve Connector End Views

GM820095Courtesy of GENERAL MOTORS CORP.
Connector Part Information
  • 90980-11162
  • BRN
Pin Wire Color Function
1 YEL CMP Actuator High Control
2 BLK/YEL CMP Actuator Low Control
Circuit Opening Relay Connector End Views

GM660786Courtesy of GENERAL MOTORS CORP.
Connector Part Information -
Pin Wire Color Function
1 BLK Relay Coil Feed Circuit
2 GRN/RED Relay Coil Ground Circuit
3 BLK/RED Relay Switch Ground Circuit
5 WHT/BLK Relay Switch Feed Circuit
Clutch Pedal Position (CPP) Switch Connector End Views

GM820095Courtesy of GENERAL MOTORS CORP.
Connector Part Information
  • 90980-10825
  • WHT
Pin Wire Color Function
1 RED CPP Feed Circuit
2 BLK CPP Signal Circuit
Crankshaft Position (CKP) Sensor Connector End Views

GM339853Courtesy of GENERAL MOTORS CORP.
Connector Part Information
  • 90980-10947
  • GRY
Pin Wire Color Function
1 BLK Crankshaft Position Input
2 WHT Sensor Ground
Engine Coolant Temperature (ECT) Sensor Connector End Views

GM820010Courtesy of GENERAL MOTORS CORP.
Connector Part Information
  • 90980-10737
  • DK GRY
Pin Wire Color Function
1 BRN Sensor Ground
2 WHT ECT Input
EFI Relay Connector End Views

GM660786Courtesy of GENERAL MOTORS CORP.
Connector Part Information -
Pin Wire Color Function
1 BLK/WHT Relay Coil Feed Circuit
2 WHT/BLK Relay Coil Ground Circuit
3 BLK Relay Switch Ground Circuit
5 RED/WHT Relay Switch Feed Circuit
EVAP Pressure Switching Solenoid Connector End Views

GM334995Courtesy of GENERAL MOTORS CORP.
Connector Part Information
  • 90980-11859
  • BLK
Pin Wire Color Function
1 RED EVAP Control
2 BLK EVAP Feed Circuit
EVAP Purge Solenoid Valve Connector End Views

GM339854Courtesy of GENERAL MOTORS CORP.
Connector Part Information
  • 90980-11156
  • BLU
Pin Wire Color Function
1 BLU/BLK EVAP Control Circuit
2 BLK EVAP Feed Circuit
EVAP Vent Solenoid Valve Connector End Views

GM820255Courtesy of GENERAL MOTORS CORP.
Connector Part Information
  • 90980-11162
  • BLK
Pin Wire Color Function
1 BLU EVAP Control Circuit
2 BLK EVAP Feed Circuit
EVAP ACIS Valve Connector End Views

GM820255Courtesy of GENERAL MOTORS CORP.
Connector Part Information
  • 90980-11149
  • BRN
Pin Wire Color Function
1 BLK EVAP Feed Circuit
2 BLU/WHT EVAP Control Circuit
Fuel Injector Connector End Views #1

GM334996Courtesy of GENERAL MOTORS CORP.
Connector Part Information
  • 90980-11875
  • GRY
Pin Wire Color Function
1 BLK/WHT Fuel Injector #1 Feed Circuit
2 YEL Fuel Injector #1 Control Circuit
Fuel Injector Connector End Views #2

GM334996Courtesy of GENERAL MOTORS CORP.
Connector Part Information
  • 90980-11875
  • GRY
Pin Wire Color Function
1 BLK/WHT Fuel Injector #2 Feed Circuit
2 BLK Fuel Injector #2 Control Circuit
Fuel Injector Connector End Views #3

GM334996Courtesy of GENERAL MOTORS CORP.
Connector Part Information
  • 90980-11875
  • GRY
Pin Wire Color Function
1 BLK/WHT Fuel Injector #3 Feed Circuit
2 WHT Fuel Injector #3 Control Circuit
Fuel Injector Connector End Views #4

GM334996Courtesy of GENERAL MOTORS CORP.
Connector Part Information
  • 90980-11875
  • GRY
Pin Wire Color Function
1 BLK/WHT Fuel Injector #4 Control Circuit
2 BLU Fuel Injector #4 Feed Circuit
Fuel Sender Assembly Connector End Views

GM334997Courtesy of GENERAL MOTORS CORP.
Connector Part Information
  • 90980-11077
  • WHT
Pin Wire Color Function
1 - Not Used
2 YEL Fuel Gage
3 BRN Low Fuel Indicator
4 BLK/RED Fuel Pump Feed Circuit
5 WHT/BLK Ground
Fuel Tank Pressure Sensor Connector End Views

GM335005Courtesy of GENERAL MOTORS CORP.
Connector Part Information
  • 90980-11143
  • BLK
Pin Wire Color Function
1 BRN Sensor Ground
2 BLU Fuel Tank Pressure Input
3 YEL Reference Voltage
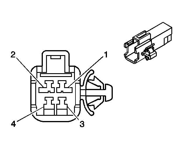
Heated Oxygen Sensor (HO2S) Connector End Views 1

GM820019Courtesy of GENERAL MOTORS CORP.
Connector Part Information
  • 90980-10794
  • DK GRY
Pin Wire Color Function
1 BLK HO2S1 Heater Feed Circuit
2 PNK HO2S1 Heater Control Circuit
3 BRN Ground
4 RED HO2S1 Input
Heated Oxygen Sensor (HO2S) Connector End Views 2

GM820103Courtesy of GENERAL MOTORS CORP.
Connector Part Information
  • 90980-11399
  • DK GRY
Pin Wire Color Function
1 BLK HO2S2 Heater Feed Circuit
2 PNK/BLK HO2S2 Heater Control Circuit
3 BRN Ground
4 WHT HO2S2 Input Circuit
Idle Air Control (IAC) Motor Connector End Views

GM339851Courtesy of GENERAL MOTORS CORP.
Connector Part Information
  • 90980-11145
  • GRY
Pin Wire Color Function
1 BLK/BLU IAC Valve Open Control
2 BLK IAC Feed Circuit
3 WHT/BLK Ground
Ignition Coil Connector End Views 1

GM820192Courtesy of GENERAL MOTORS CORP.
Connector Part Information
  • 90980-11885
  • BRN
Pin Wire Color Function
1 BLK/WHT Ignition Coil Feed Circuit
2 BLU/YEL Ignition Fail Safe Input
3 RED/BLU Ignition Trigger Circuit
4 WHT/BLK Ground
Ignition Coil Connector End Views 2

GM820192Courtesy of GENERAL MOTORS CORP.
Connector Part Information
  • 90980-11885
  • BRN
Pin Wire Color Function
1 BLK/WHT Ignition Coil Feed Circuit
2 BLU/YEL Ignition Fail Safe Input
3 YEL/GRN Ignition Trigger Circuit
4 WHT/BLK Ground
Ignition Coil Connector End Views 3

GM820192Courtesy of GENERAL MOTORS CORP.
Connector Part Information
  • 90980-11885
  • BRN
Pin Wire Color Function
1 BLK/WHT Ignition Coil Feed Circuit
2 BLU/YEL Ignition Fail Safe Input
3 GRY Ignition Trigger Circuit
4 WHT/BLK Ground
Ignition Coil Connector End Views 4

GM820192Courtesy of GENERAL MOTORS CORP.
Connector Part Information
  • 90980-11885
  • BRN
Pin Wire Color Function
1 BLK/WHT Ignition Coil Feed Circuit
2 BLU/YEL Ignition Fail Safe Input
3 WHT Ignition Trigger Circuit
4 WHT/BLK Ground
Knock Sensor (KS) Connector End Views

GM334996Courtesy of GENERAL MOTORS CORP.
Connector Part Information
  • 90980-11875
  • BLK
Pin Wire Color Function
1 WHT Knock Sensor Input Circuit
2 BLK Ground
Mass Air Flow (MAF) Sensor Connector End Views

GM820101Courtesy of GENERAL MOTORS CORP.
Connector Part Information
  • 90980-11317
  • BLK
Pin Wire Color Function
1 BLK MAF Feed Circuit
2 BLU/WHT MAF Signal Low
3 GRN MAF Signal High
4 YEL/BLK IAT Sensor Input
5 BRN Sensor Ground
Noise Filter Connector End Views

GM820022Courtesy of GENERAL MOTORS CORP.
Connector Part Information
  • 90980-10843
  • GRY
Pin Wire Color Function
1 BLK/WHT Noise Filter Feed Circuit
2 - Not Used
PCM Connector End Views C1

GM820235Courtesy of GENERAL MOTORS CORP.
Connector Part Information
  • 34-Pin
  • WHT
Pin Wire Color Function
1 YEL Fuel Injector 1 Control
2 BLK Fuel Injector 2 Control
3 WHT Fuel Injector 3 Control
4 BLU Fuel Injector 4 Control
5 BLK/BLU Idle Air Control (IAC) Valve Control
6 WHT/BLK Ground
7 WHT/BLK Ground
8 RED/BLU Ignition Trigger Signal Coil 1
9 YEL/GRN Ignition Trigger Signal Coil 2
10 GRY Ignition Trigger Signal Coil 3
11 WHT Ignition Trigger Signal Coil 4
12 BLU/BLK EVAP Canister Purge Solenoid Valve Control
13 YEL AC Pressure Switch
14 BLK/YEL Camshaft Position (CMP) Actuator Solenoid Valve High Control
15 YEL Camshaft Position (CMP) Actuator Solenoid Valve Control Low
16 PNK Line Pressure Control (PC) Solenoid Control Low*
17 RED/WHT Line Pressure Control (PC) Solenoid Control High*
18 YEL 5-Volt Reference Circuit
19 WHT Engine Coolant Temperature (ECT) Sensor Input
20 YEL/BLK Intake Air Temperature (IAT) Sensor Input
21 LT GRN Throttle Position (TP) Sensor Input
22 - Not Used
23 BLU/YEL Ignition Fail Safe Input
24 BLU/YEL Rocker Arm Oil Control Solenoid Valve Control High
25 BLK Rocker Arm Oil Control Solenoid Valve Control Low
26 BLK Camshaft Position (CMP) Sensor Input
27 BLK Crankshaft Position (CKP) Sensor Input
28 BRN Sensor Ground
29 - Not Used
30 LT GRN Secondary AIR Injection Pressure Sensor Input
31-32 - Not Used
33 BLK/BLU Secondary AIR Injection Solenoid Valve Control
34 WHT CMP Sensor and CKP Sensor Ground
PCM Connector End Views C2

GM820243Courtesy of GENERAL MOTORS CORP.
Connector Part Information
  • 35-Pin
  • WHT
Pin Wire Color Function
1 BLK Knock Sensor (KS) Signal High
2 WHT Knock Sensor (KS) Signal Low
3 BLK/ORN Secondary AIR Injection Pump Relay Control
4 PNK Heated Oxygen Sensor (HO2S) 1 Heater Circuit Control
5 WHT/BLK Ground
6 - Not Used
7 BRN Ground
8 RED Ignition Positive Voltage*
9 BLK Crank Signal
10 - Not Used
11 BLK Torque Converter Clutch (TCC) Solenoid Control*
12-14 - Not Used
15 BLU Overdrive (OD) Shift Solenoid Control*
16 BLU/WHT Shift Solenoid (SS) 2 Control Low*
17 BLU/ORN Shift Solenoid (SS) 2 Control High*
18 BLU Shift Solenoid (SS) 1 Control Low*
19 RED/YEL Shift Solenoid (SS) 1 Control High*
20 - Not Used
21 WHT Heated Oxygen Sensor (HO2S) 2 Input
22 - Not Used
23 RED Heated Oxygen Sensor (HO2S) 1 Input
24 GRN Mass Air Flow (MAF) Sensor Signal High
25 - Not Used
26 RED Counter Gear Speed Sensor Reference High*
27 WHT Input Shaft Speed Sensor Reference High*
28 WHT/BLK Ground
29 BLU/RED Power Steering Pressure (PSP) Switch Input
30-31 - Not Used
32 BLU/WHT Mass Air Flow (MAF) Sensor Signal Low
33 BLK/WHT Rocker Arm Oil Pressure Switch Input
34 GRN Counter Gear Speed Sensor Reference Low*
35 BLK Input Shaft Speed Sensor Reference Low*
PCM Connector End Views C3

GM820244Courtesy of GENERAL MOTORS CORP.
Connector Part Information
  • 35-Pin
  • WHT
Pin Wire Color Function
1 BLU EVAP Canister Vent Solenoid Valve Control
2 YEL/BLK AC Compressor Clutch Relay Control
3 - Not Used
4 PNK/BLK Heated Oxygen Sensor (HO2S) 2 Heater Circuit Control
5 BLU/WHT Auxiliary Intake Air Control Solenoid Control
6 - Not Used
7 LT GRN Overdrive (OD) Indicator Control
8 LT GRN/BLK Park Neutral Position (PNP) Switch L Position Signal
9 LT GRN Park Neutral Position (PNP) Switch 2 Position Signal
10 BLU Park Neutral Position (PNP) Switch D Position Signal
11 RED/BLK Park Neutral Position (PNP) Switch R Position Signal
12-13 - Not Used
14 YEL/RED Engine Coolant Temperature Gage Output
15-16 - Not Used
17 PPL/WHT Vehicle Speed Sensor (VSS) Input
18 RED/YEL Overdrive (OD) Cut Signal, with Cruise Control*
19 GRN/WHT Brake Switch Signal
20-28 - Not Used
29 GRN/BLK Overdrive (OD) Switch Signal*
30 - Not Used
31 YEL AC Request Signal
32 BLK/BLU Evaporator Temperature Sensor Input
33 GRN/WHT AC On Signal
34-35 - Not Used
PCM Connector End Views C4

GM820233Courtesy of GENERAL MOTORS CORP.
Connector Part Information
  • 31-Pin
  • WHT
Pin Wire Color Function
1 BLK Ignition Positive Voltage
2 - Not Used
3 RED/WHT Battery Voltage
4 RED EVAP Pressure Switching Solenoid Control
5 BLK Engine Speed Output for Tachometer
6 GRN Fan 1 Relay Control
7 GRN/BLK Fan 2 Relay Control
8 BLK/WHT EFI Relay Control High
9 BLK/ORN Ignition Positive Voltage
10 GRN/RED Circuit Opening Relay Control
11 RED/YEL MIL Control
12 GRN Electrical Load Idle-Up Signal, Tail Lamps
13 WHT Electrical Load Idle-Up Signal, Rear Defogger
14 YEL Supplemental Inflatable Restraint (SIR) System Signal
15 - Not Used
16 BLU/WHT Cruise Control Idle
17 - Not Used
18 BLU/RED Serial Data
19 PNK Data Link Connector (DLC)
20 PNK/BLK Diagnostic Request Circuit
21 BLU Fuel Tank Pressure (FTP) Sensor Input
22-31 - Not Used
Rocker Arm Oil Control Valve Connector End Views

GM820255Courtesy of GENERAL MOTORS CORP.
Connector Part Information
  • 90980-11162
  • BLK
Pin Wire Color Function
1 BLK Sensor Ground
2 WHT VSS Input
Throttle Position (TP) Sensor Connector End Views

GM339857Courtesy of GENERAL MOTORS CORP.
Connector Part Information
  • 90980-11261
  • BLK
Pin Wire Color Function
1 BRN Sensor Ground
2 YEL Reference Voltage
3 LT GRN Throttle Position Input
Vehicle Speed Sensor (Direct Clutch Speed Sensor) Connector End Views

GM820010Courtesy of GENERAL MOTORS CORP.
Connector Part Information
  • 90980-11156
  • BLK
Pin Wire Color Function
1 GRN Sensor Ground
2 RED VSS Input
Vehicle Speed Sensor (VSS) Connector End Views

GM820010Courtesy of GENERAL MOTORS CORP.
Connector Part Information
  • 90980-11156
  • BLK
Pin Wire Color Function
1 BLK Sensor Ground
2 WHT VSS Input